EasyManua.ls Logo

EBARA E-SPD+ MT 2200 - 6 - SCHEMATIC DIAGRAM (MT 2200 AND TT 4000)

EBARA E-SPD+ MT 2200
396 pages
Print Icon
To Next Page IconTo Next Page
To Next Page IconTo Next Page
To Previous Page IconTo Previous Page
To Previous Page IconTo Previous Page
Loading...
388
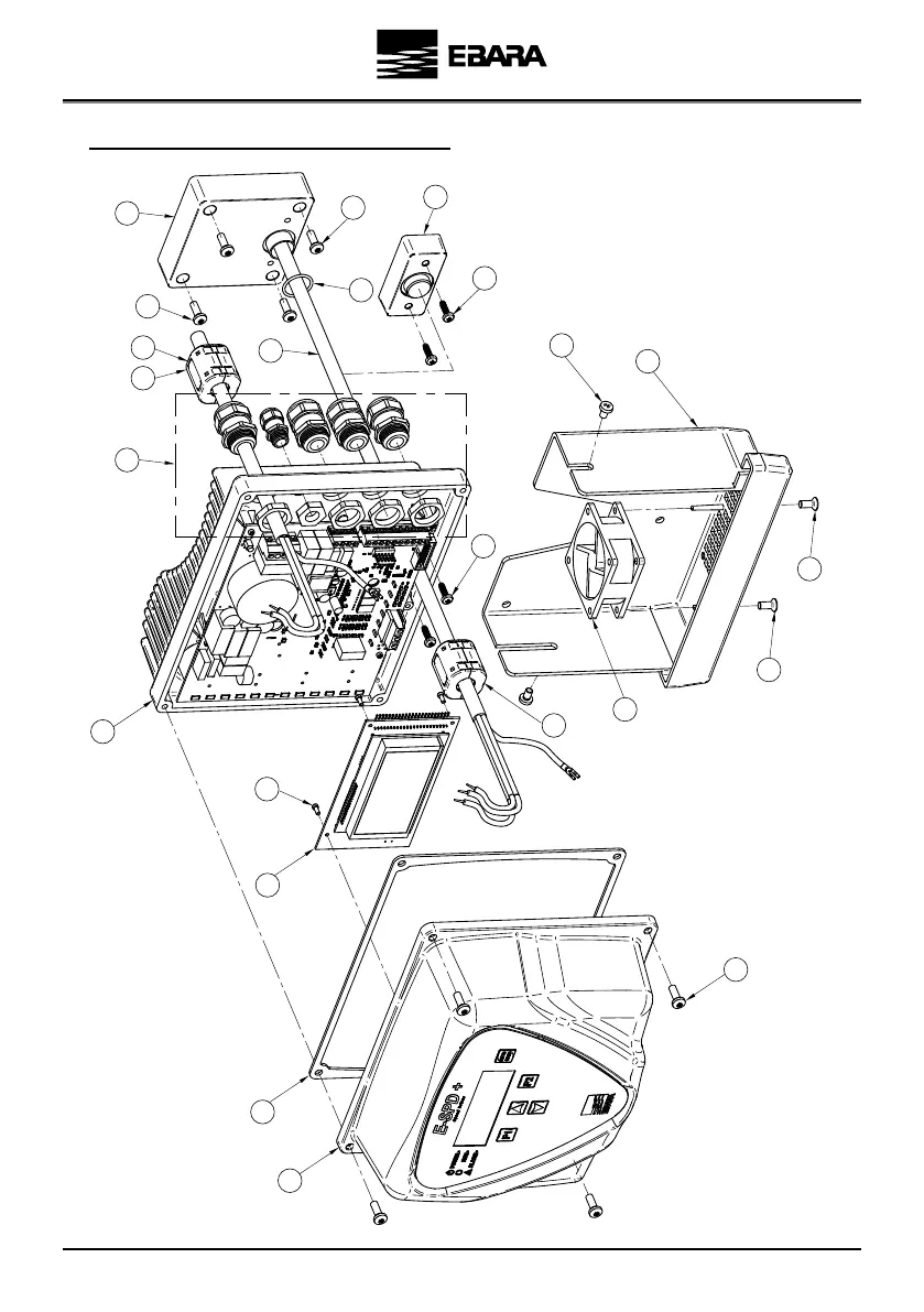
6 - SCHEMATIC DIAGRAM (MT 2200 AND TT 4000)
1
13
3
2
4
10 5
12
6
9
11b
16b
16a 16b
11a
7
14
8
17
17
11a
11b
15

Table of Contents

Related product manuals