EasyManua.ls Logo

Ecoer EAHAEC-36 - 5.10.3 Optional function wiring

Ecoer EAHAEC-36
157 pages
Print Icon
To Next Page IconTo Next Page
To Next Page IconTo Next Page
To Previous Page IconTo Previous Page
To Previous Page IconTo Previous Page
Loading...
57/157
SDi Decades Extreme Service Manual www.ecoer.com
May. 2023Manufacturer reserves the right to change specifications or designs without notice.
Wiring for 1H and 1C thermostat
DH R C L G Y1 B W W1 W2 E
INDOOR UNIT
R C Y1 Y2 B W D L
OUTDOOR UNIT
O/B
Y
G
C
R
THERMOSTAT
Wiring for 1H and 1C thermostat
DH R C L G Y1 B W W1 W2 E
INDOOR UNIT
R C Y1 Y2 B W D L
OUTDOOR UNIT
W
Y
G
C
R
THERMOSTAT
Note:
When the indoor and outdoor unit is connected without communication (connection mode C), indoor sensor fault
and fan fault, the indoor unit plate outputs L signal to the temperature controller, and the temperature controller
shall send out stop command to the outdoor unit .
If the temperature controller provided by the customer is not equipped with the output stop instruction of the
outdoor unit , the outdoor units are not allowed to run in the non-communication mode. Please use connection
mode B.
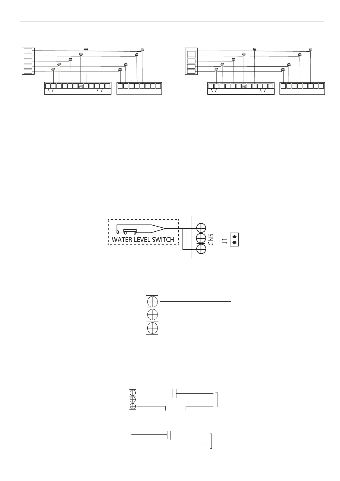
5.10.3 Optional function wiring
1. Condensate overflow switch
The unit will accommodate a remote condensate overflow switch. To enable, remote jumper J1, and connect
the installer provided condensate overflow device to CN5 per below. When an overflow condition is present, the
device should open connection signaling the unit to turn off the system.
2. The fault warning
Alarm output:
An alarm output(CN33) can be utilized if actions are required when a fault is present. This is a passive outlet port,
so you will need to input a voltage signal. The relay is normally-open for normal operation, and closed when a
fault condition is active.
CN23
ALARM
3. Humidification control wiring
To connect a humidifier, utilize the passive signal “WORK” output (CN23) port as well as the G and C wires on
the controller, and wire the humidistat and humidifier per above wiring diagram. When the fan is running, the
CN23 relay will be closed, which will allow power to the humidifier when the humidistat is below humidity
setpoint. If the thermostat or zone controller has an HUM interface, connect the humidifier directly to the HUM
and C ports.
TO HUMIDIFIER
WORK
CN33
24V control signal or 208/230V power supply
TO HUMIDIFIER
G
24-VAC
HUMIDISTAT
HUMIDISTAT
C

Related product manuals