EasyManua.ls Logo

Edge Technologies V-65 Series - 6.3.2 Parameter Adjustment

Edge Technologies V-65 Series
80 pages
Print Icon
To Next Page IconTo Next Page
To Next Page IconTo Next Page
To Previous Page IconTo Previous Page
To Previous Page IconTo Previous Page
Loading...
6. OPERATIONS AND ILLUSTRATIONS V-65E-A
6-8
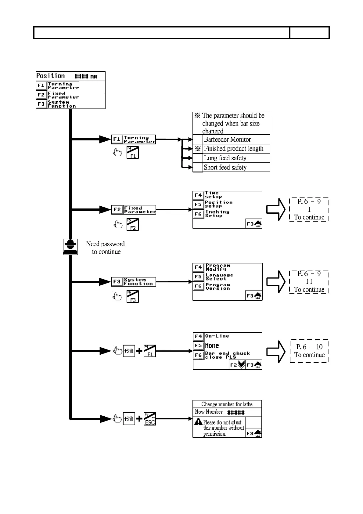
6.3.2 Parameter picture driftage

Related product manuals