EasyManua.ls Logo

EdgeStar OIM450SS - Control Panel Indicators

EdgeStar OIM450SS
24 pages
Print Icon
To Next Page IconTo Next Page
To Next Page IconTo Next Page
To Previous Page IconTo Previous Page
To Previous Page IconTo Previous Page
Loading...
11
How the Machine Uses the Water
The ice maker begins with a fixed charge of water that is contained in the water trough. During the
ice-making process, fresh water enters the water trough continuously as the water from the trough
freezes on the evaporator.
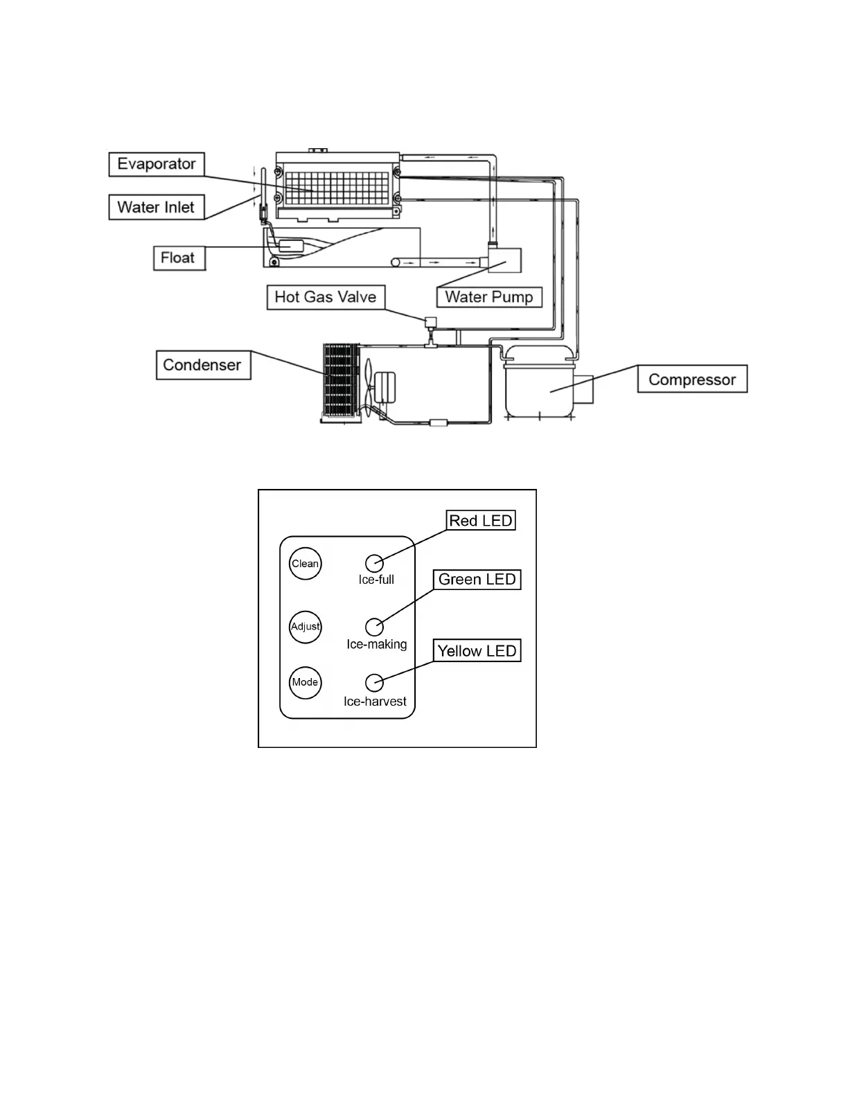
Control Panel (rear of unit)
1. Ice Full (Red) LED: Ice Full indicator light.
When this LED is lit, the ice storage bin is full of ice or there is something obstructing the ice
slide. The unit will stop producing ice. When ice cubes are removed from the ice storage bin,
clearing the ice slide, the red LED will keep flashing for 3 minutes. Then the unit will restart
and return to the ice making mode.
2. Ice Making (Green) LED: Ice Making indicator light.
When this LED is lit or flashing, the unit is working in the ice making mode.
3. Ice Harvest (Yellow) LED: Ice Harvest indicator light.
When this LED is lit, the unit is working in the Ice Harvest mode.

Related product manuals