EasyManua.ls Logo

Electra DNC series - Indoor Unit Dimensions DNC - All Types

Electra DNC series
153 pages
Print Icon
To Next Page IconTo Next Page
To Next Page IconTo Next Page
To Previous Page IconTo Previous Page
To Previous Page IconTo Previous Page
Loading...
INSTALLATION MANUAL
English 3
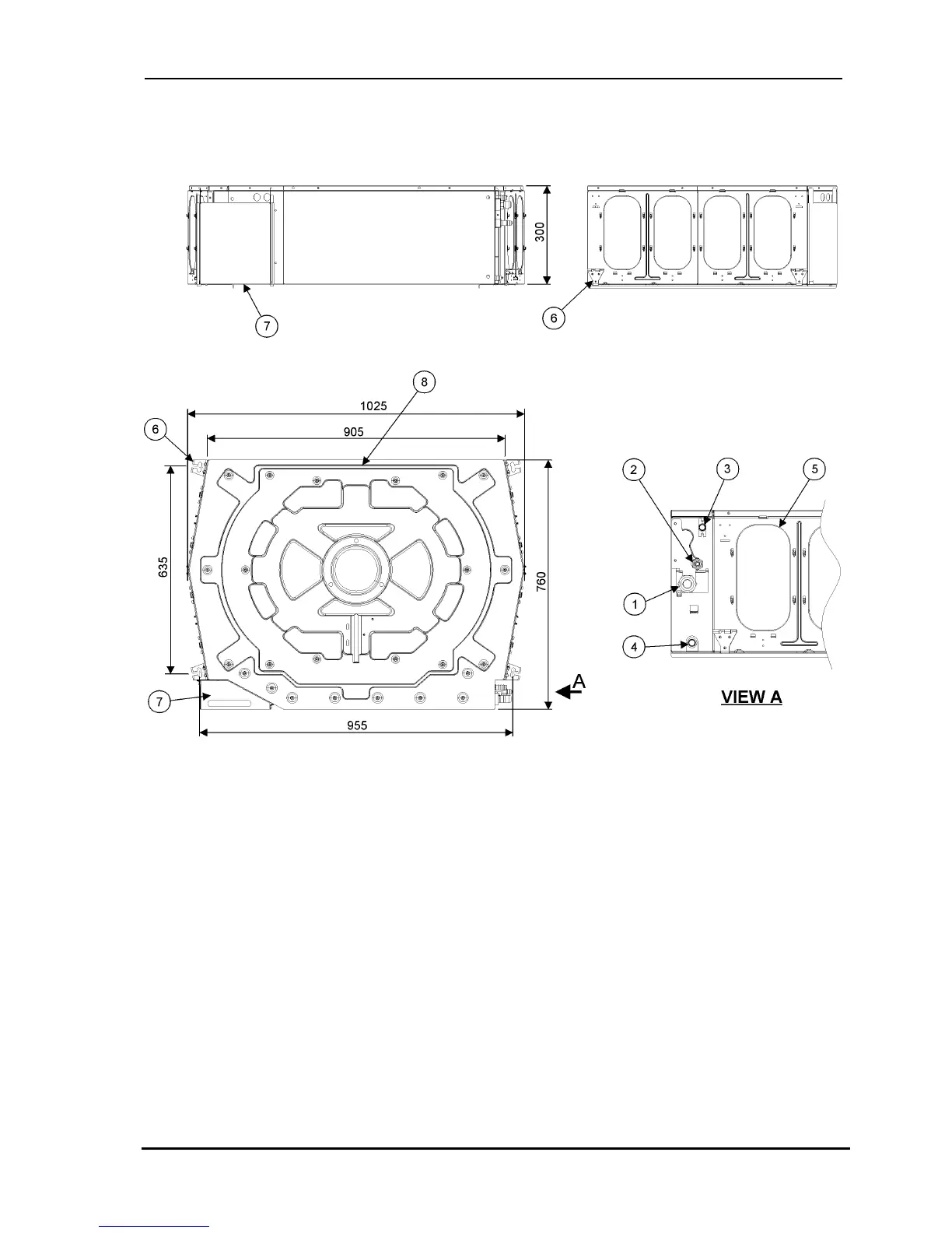
2.1 Indoor unit dimensions DNC - all types
1. Suction tube connector (flared)
2. Liquid tube connector (flared)
3. Pump outlet 16 mm
4. Drain pool plug (for servicing purposes only)
5. 8” air supply opening
6. Hanging bracket
7. Electrical box
8. Fresh air opening
Fig. 1. General dimensions of DNC indoor unit

Table of Contents

Related product manuals