EasyManua.ls Logo

Electra DNC series - Tubing Installation and Preparation

Electra DNC series
153 pages
Print Icon
To Next Page IconTo Next Page
To Next Page IconTo Next Page
To Previous Page IconTo Previous Page
To Previous Page IconTo Previous Page
Loading...
INSTALLATION MANUAL
English 17
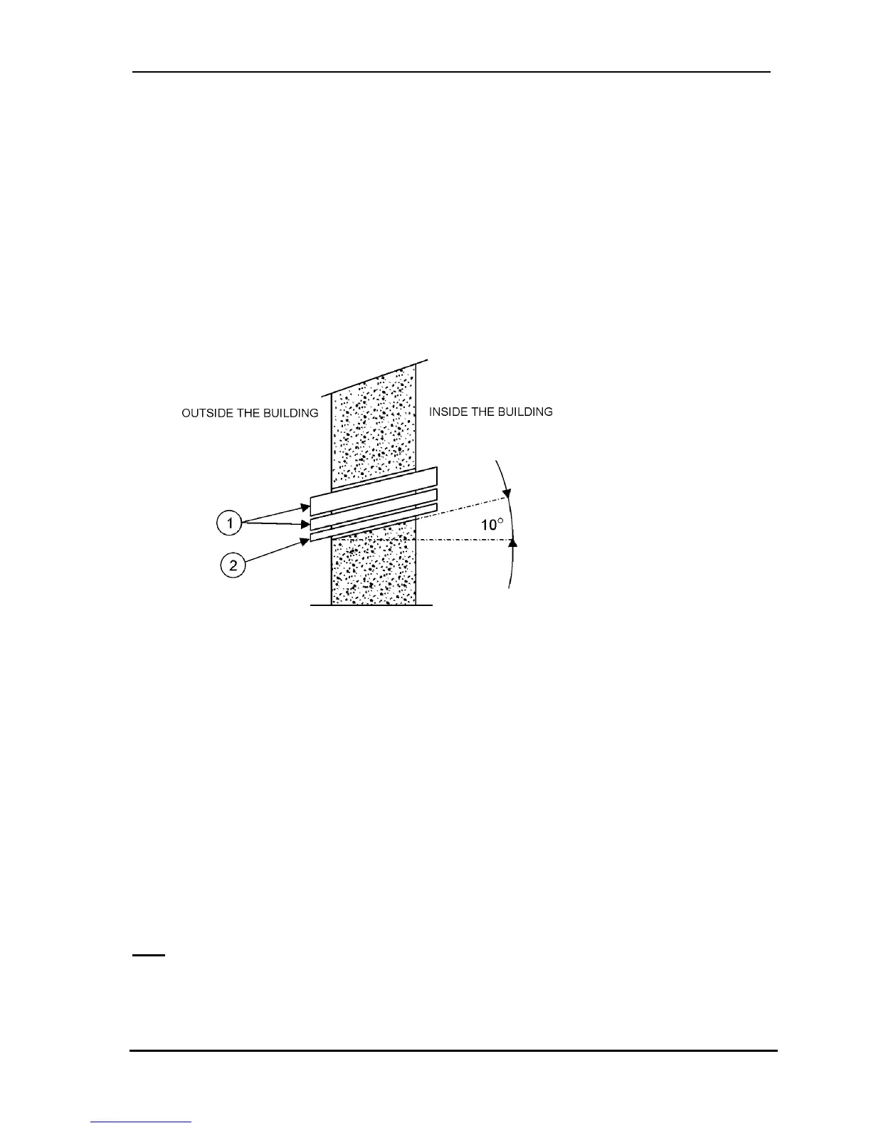
7. Installation of interconnecting tubing between indoor and outdoor units
7.1 General
For routing the interconnecting tubing between the indoor and the outdoor units, prepare passage
for a 60 mm PVC tube (see Fig. 18).
Make sure the following:
The passage tube must have a 10 degrees slant towards the outside, to prevent water
from penetrating into the building.
The seal of the space between the refrigerant tubes and the outer shell of the PVC tube
should be done by an insulating material. The openings (both indoor and outdoor) must be
sealed-off using the appropriate sealing material, to prevent water penetration.
1. Refrigerant tubes
2. Electrical cable
Fig. 18. Interconnecting tubing and cable between units
7.2 Gas tubes
During gas tubes (copper) installation, Abstain, as much as possible, from unnecessary bending of
tubes. If bending is required, it must be performed using a professional tube - bending tool (never
by hands). Take care to perfectly insulate the tubes throughout their entire length, including the
tubes terminations and connectors, to prevent the tubes from sweating and water leakage in the
area the tubes pass through.
Make sure that you direct the tubes route in straight lines as much as possible.
The copper part must be of the L type, to be whole and to be thermally insulated throughout its
entire length.
The diameter of the tubes connecting the indoor and the outdoor units will be determined
according to table No. 1. In tubes whose diameters differ from the diameter of connectors supplied
with the unit - the technician must prepare a suitable transition, by soldering, that will connect
between the unit connectors and the tubes.
Note
:
Make sure the tubes are clean of dirt and moisture. If necessary, rinse and cleanse the tubes with
Freon before performing vacuum.

Table of Contents

Related product manuals