EasyManua.ls Logo

Electro-Voice EVOLVE 50 - Solo Musician Performance

Electro-Voice EVOLVE 50
28 pages
Print Icon
To Next Page IconTo Next Page
To Next Page IconTo Next Page
To Previous Page IconTo Previous Page
To Previous Page IconTo Previous Page
Loading...
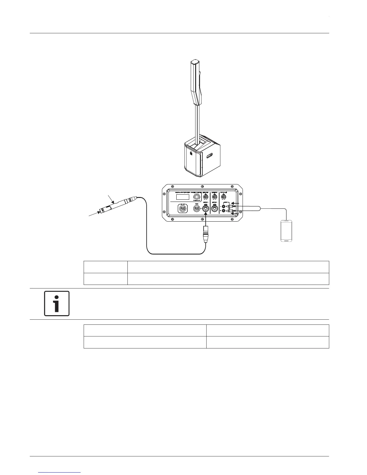
Solo musician performance
B
A
A Guitar, conga drum, etc.
B Condenser microphone
Notice!
The direction of the arrow indicates the signal path.
Mode: Live
Phantom 1: On
Table 7.2: DSP settings for the portable column system
See also
DSP control menu, page 14
7.2
EVOLVE 50 Portable Column System
2017.07 | 02 | F.01U.341.640 Installation manual Electro-Voice

Related product manuals