EasyManua.ls Logo

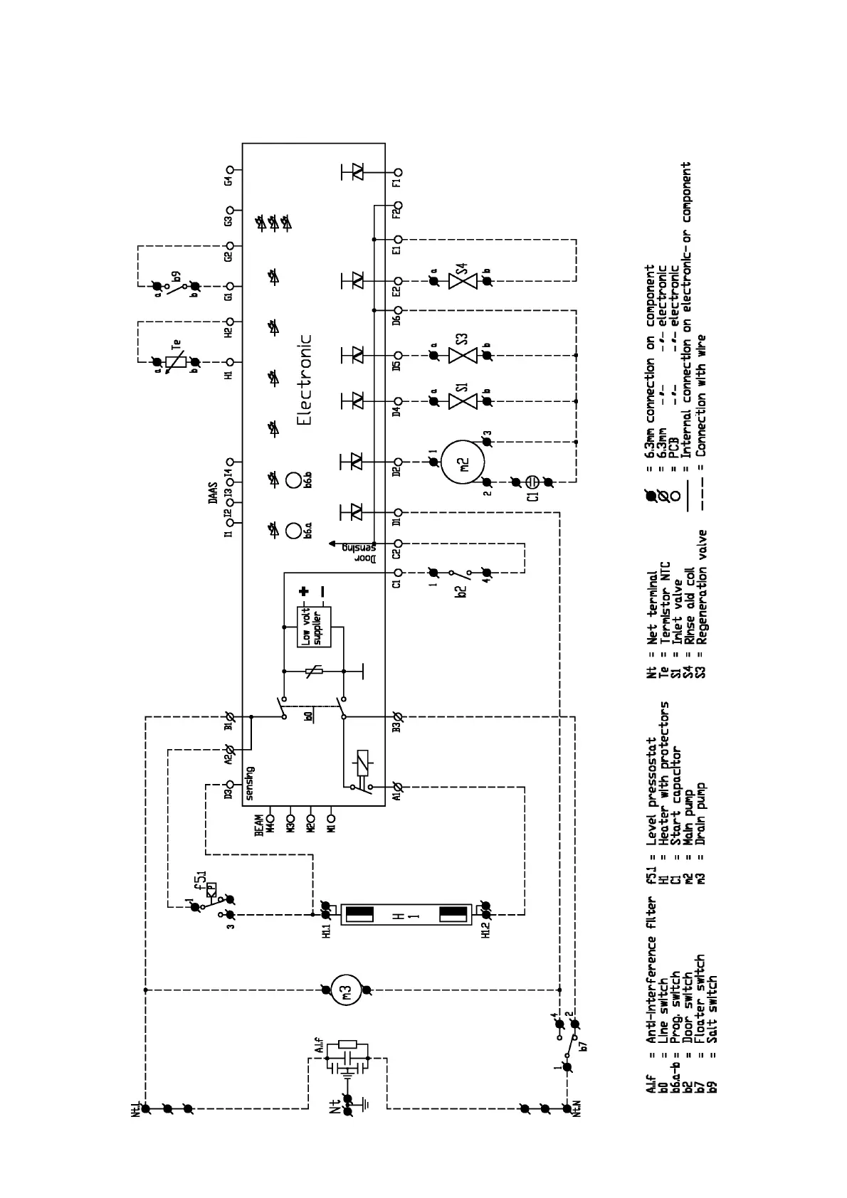
Electrolux EDW 503 - Wiring Diagram - With Softener; Softener System Wiring

Electrolux EDW 503
42 pages
Print Icon
To Next Page IconTo Next Page
To Next Page IconTo Next Page
To Previous Page IconTo Previous Page
To Previous Page IconTo Previous Page
Loading...
- 23 -
Spares Operation - R.Kurzke 11/06 599 528 133 EN
15.2. Wiring with softener

Related product manuals