EasyManua.ls Logo

Electrolux EOB64100 - Baking Instructions and Tables; General Baking Instructions; Using Baking Tables; Baking Table - One Oven Level

Electrolux EOB64100
44 pages
Print Icon
To Next Page IconTo Next Page
To Next Page IconTo Next Page
To Previous Page IconTo Previous Page
To Previous Page IconTo Previous Page
Loading...
18 electrolux
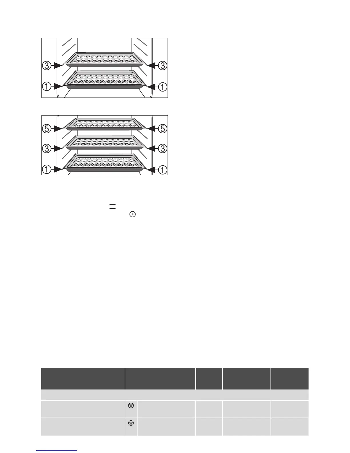
2 baking trays:
z. g., oven levels 1 and 3
3 baking trays:
oven levels 1, 3 and 5
General instructions
Insert the tray with the bevel at the front.
With Conventional or Convection
with ring heating element you can
also bake with two tins next to one an-
other on the oven shelf at the same time.
This does not significantly increase bak-
ing time.
3 When frozen foods are used the trays in-
serted may distort during cooking. This
is due to the large difference in temper-
ature between the freezing temperature
and the temperature in the oven. Once
the trays have cooled the distortion will
disappear again.
How to use the baking tables
The tables give the required temperature set-
tings, baking times and oven shelf levels for
a selection of typical dishes.
Temperatures and baking times are for
guidance only, as these will depend on
the consistency of pastry, dough or mix-
ture, the amount and the type of baking
tin.
We recommend using the lower temper-
ature the first time and then if necessary,
for example, if a deeper browning is re-
quired, or baking time is too long, se-
lecting a higher temperature.
If you cannot find the settings for a par-
ticular recipe, look for the one that is
most similar.
If baking cakes on baking trays or in tins
on more than one level, baking time may
be extended by 10-15 minutes.
Moist recipes (for example, pizzas, fruit
flans, etc.) are baked on one level.
Cakes and pastries at different heights
may brown at an uneven rate at first. If
this occurs, please do not change the
temperature setting. Different rates of
browning even out as baking progress-
es.
Your new oven may bake or roast differ-
ently to your previous appliance. So
adapt your normal settings (tempera-
ture, cooking times) and oven shelf lev-
els to the recommendations in the
following tables.
2 With longer baking times, the oven can
be switched off about 10 minutes before
the end of baking time, to make use of
the residual heat.
Unless otherwise stated, the values giv-
en in the tables assume that cooking is
started with the oven cold.
Baking table
Baking on one oven level
Type of
baking
Oven function
Oven
level
Temperature
°C
Time
Hr: Mins.
Baking in tins
Ring cake or brioche Convection with ring
heating element
1 150-160 0:50-1:10
Madeira cake/fruit cakes Convection with ring
heating element
1 140-160 1:10-1:30

Related product manuals