EasyManua.ls Logo

Electrolux FLE220 - Page 40

Electrolux FLE220
91 pages
Print Icon
To Next Page IconTo Next Page
To Next Page IconTo Next Page
To Previous Page IconTo Previous Page
To Previous Page IconTo Previous Page
Loading...
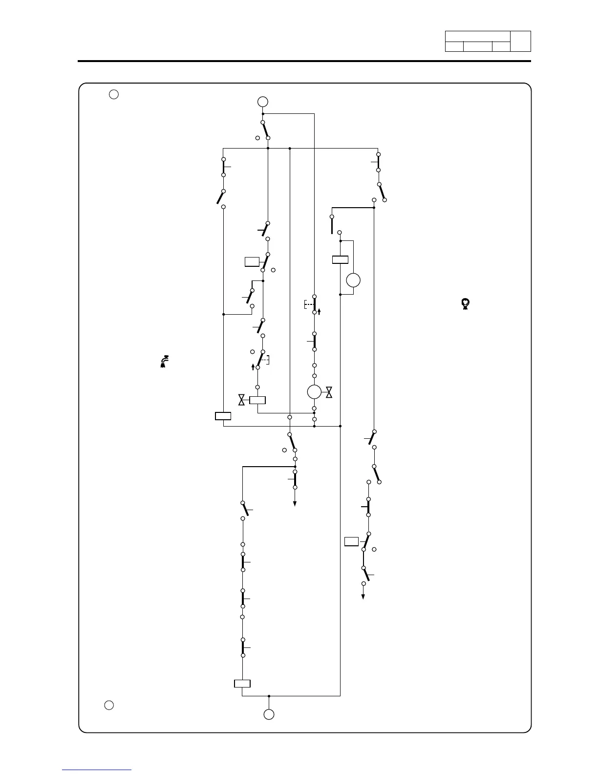
12. Function Sequences Edition
Type
Service
Manual
17 9108
12
Page
A
K53
33
34
P<
B1
86
63
62
32
33
31
K31
33
34
K53
43
44
K53
14
13
M
K
3
K31
K63
3
1
2
b
71
A1
A2
52
51
67
K53
68
p<
K31
H
K53
B1
K63
23
24
94
3
2
1
96
81
82
111
11
12
13
150
12
13
K31
K10
K9
K53
K3
43
44
X5:6
12
11
11
12
X5:8
71
72
135
136130
112
A1
A2
S9
D
4
1
142
90
S36
1
2
Y14
X9:3
73
K53
93
4
M
3
1
2
X10:2
X9:8
X10:1
X9:9
S34
K31
Y1
72
71
2
B31
K31
1
23
52
51
56
X31:1
X31:2
78
99
91
M
1690
25
A : Per supply: see
''Power supply and start''
sequence
(1) Programmer, row M, stop
(2) Relay K31, drain
(3) Out-of-balancce
switch S9
(4) Relay K53, out-of-balance
(5) Levelcontrol B1
(6) Relay K53 out-of-balance
(7) Relay K53 out-of-balance
(8) Switch S36 (cold water)
(9) Valve Y14 Cold water
(10) Relay coil K53 out-of-
balance
(11) Speed control B31
(12) Relay K31 Drain
(13) Relay K31 Drain
(14) Relay K10
High extraction
(15) Relay K9
Low extraction
(16) Relay K53 out-of-balance
(17) Relay coil K3
distribution speed
D : Power supply: see
''Power supply and start''
sequence
(18) Relay K53 out-of-
balance
(19) Programmer, row K
drain
(20) Reverser, row 3b
(21) Relay coil K31 drain
(22) Time relay K63 drain
(23) Switch S34 (drain)
(24) Relay K31 drain
(25) Valve Y1 drain
(26) Relay K31 drain
(27) Programmer, row H
extraction
(28) Relay K53 out-of-balance
(29) Level control B1
Extraction
(30) Time relay K63 drain
To relays K9/K10,
Extraction
To relay K2,
Wash

Table of Contents

Related product manuals