EasyManua.ls Logo

Emerson Fisher FIELDVUE DVC6000f - Page 310

Emerson Fisher FIELDVUE DVC6000f
384 pages
Print Icon
To Next Page IconTo Next Page
To Next Page IconTo Next Page
To Previous Page IconTo Previous Page
To Previous Page IconTo Previous Page
Loading...
DVC6000f Digital Valve Controllers
December 2009
B-4
GE42818-A
Sheets 6 and 7 of 8
1
1
1
1
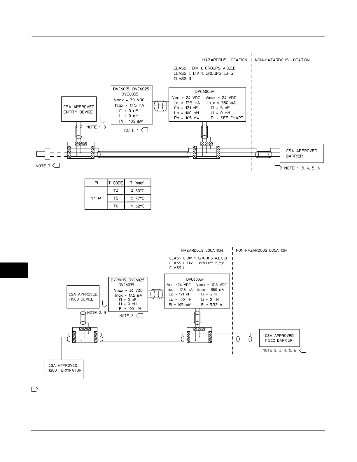
Figure B-4. CSA Loop Schematics for FIELDVUE DVC6005f with DVC6015, DVC6025, and DVC6035
1
1
SEE NOTES IN FIGURE B-2
FISCO LOOP
1
1
ENTITY FIELDBUS LOOP
B

Table of Contents

Related product manuals