EasyManua.ls Logo

Emerson ROC809 - Page 109

Emerson ROC809
184 pages
Print Icon
To Next Page IconTo Next Page
To Next Page IconTo Next Page
To Previous Page IconTo Previous Page
To Previous Page IconTo Previous Page
Loading...
ROC800-Series Instruction Manual
Revised July-2017 Input/Output Modules 4-23
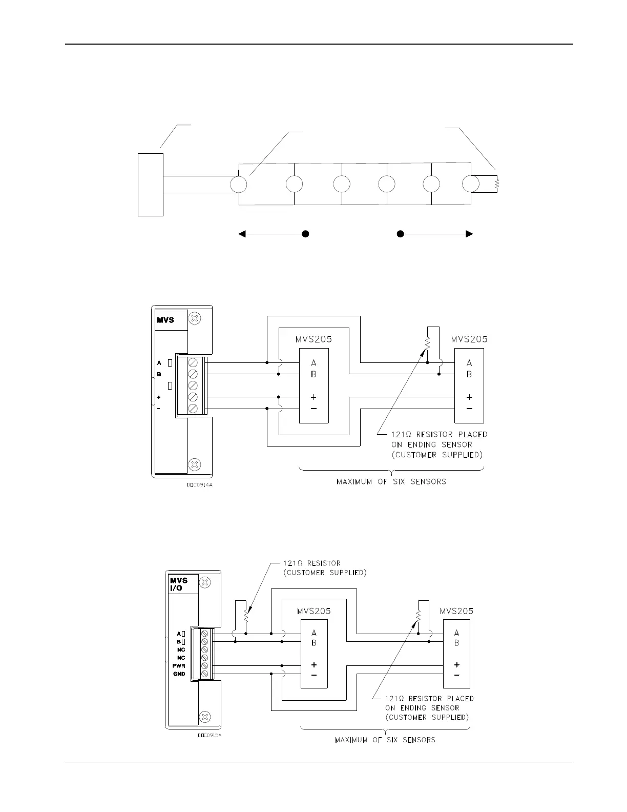
terminals on the devices are electrically connected to the ROC800’s “A”
terminal and so on. Wire each remote MVS transmitter in parallel
(“daisy-chaining”), as shown in Figure 4-27.
A
B
1000+ meters
(4000+ feet)
120 Ohm
resistor at
end of line
MVS I/O
Module
MVS
transmitter
(up to 6 per
module)
Figure 4-27. MVS Wiring (with Terminators)
Figure 4-29 shows the field wiring diagram for the MVSI/O module.
Figure 4-28. MVS Field Wiring

Table of Contents

Related product manuals