EasyManua.ls Logo

EP Equipment CQD15S-E - Lifting and Depositing Loads; Lifting and Lowering Procedures

EP Equipment CQD15S-E
46 pages
Print Icon
To Next Page IconTo Next Page
To Next Page IconTo Next Page
To Previous Page IconTo Previous Page
To Previous Page IconTo Previous Page
Loading...
24
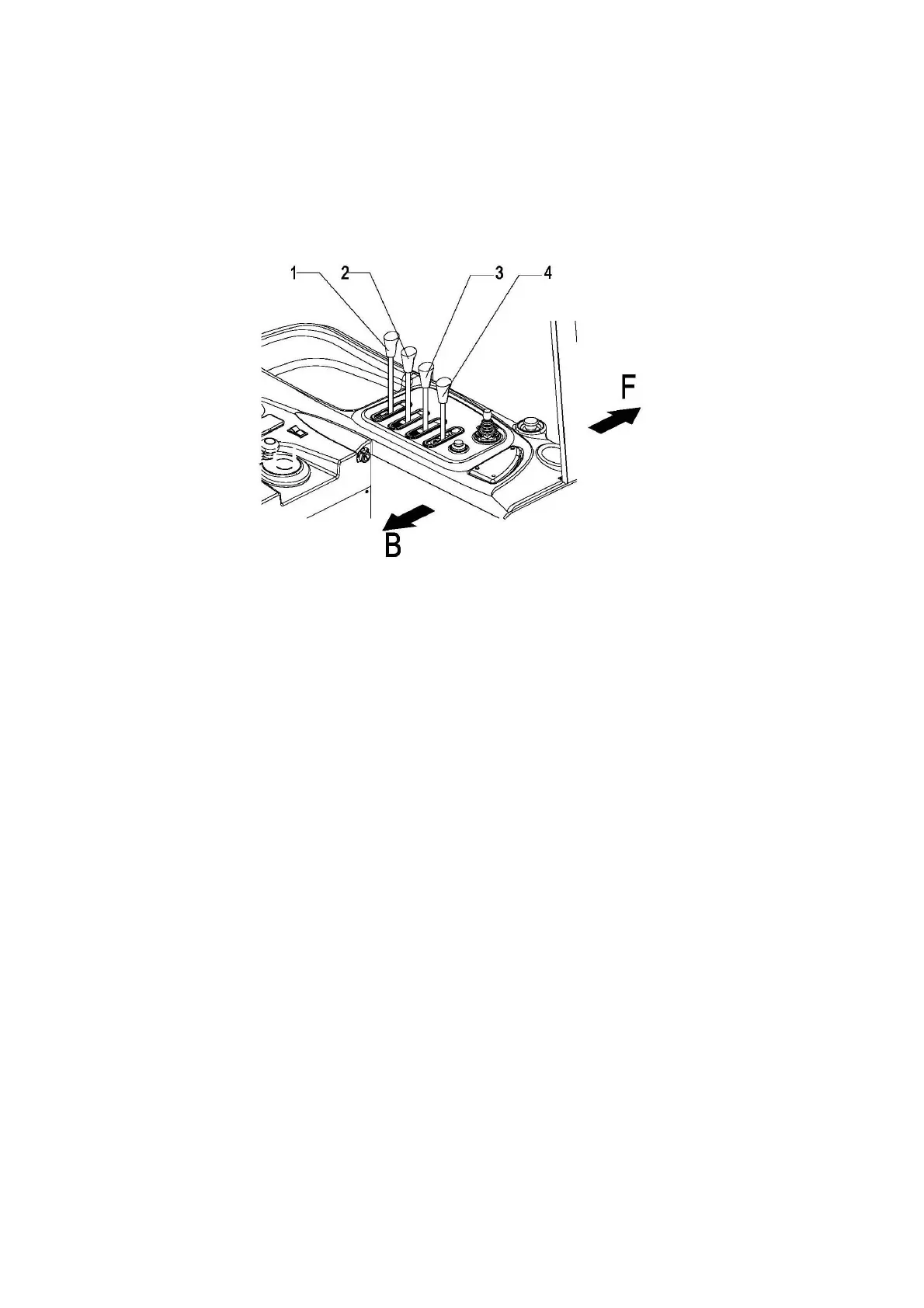
3.4.3 Lifting and depositing loads
Before raising a load, the driver must ensure that it is correctly palletised and that the
capacity of the truck is not exceeded.
Insert the forks as far as possible underneath the load.
1.Lifting - Lowering
Do not reach into the mast. Do not allow anyone to stand underneath a raised load.
Lifting
Pull the control lever (1) towards direction (B) until you reach the desired lift height.
The lifting speed is determined by the inclination of the control lever.
Lowering
Pull the control lever (1) towards direction (F) until you reach the desired height.
The lowering speed is determined by the inclination of the control lever.
2.Extending - Retracting
Do not reach between the mast and the battery cover.
Extending
Move the control lever (2) in direction (F) to extend the mast support forward.
Retracting
Move the control lever (2) in direction (B) to retract the mast support backward.
3.Forward - Backward Tilting
Do not reach between the mast and the battery cover.
Tilting Forward
To tilt forward, push the control lever (3) in direction (F).

Related product manuals