EasyManua.ls Logo

ESAB ESP-200 - Page 92

ESAB ESP-200
102 pages
Print Icon
To Next Page IconTo Next Page
To Next Page IconTo Next Page
To Previous Page IconTo Previous Page
To Previous Page IconTo Previous Page
Loading...
92
SECTION 7 REPLACEMENT PARTS
1
2
3
4
5
6
7
8
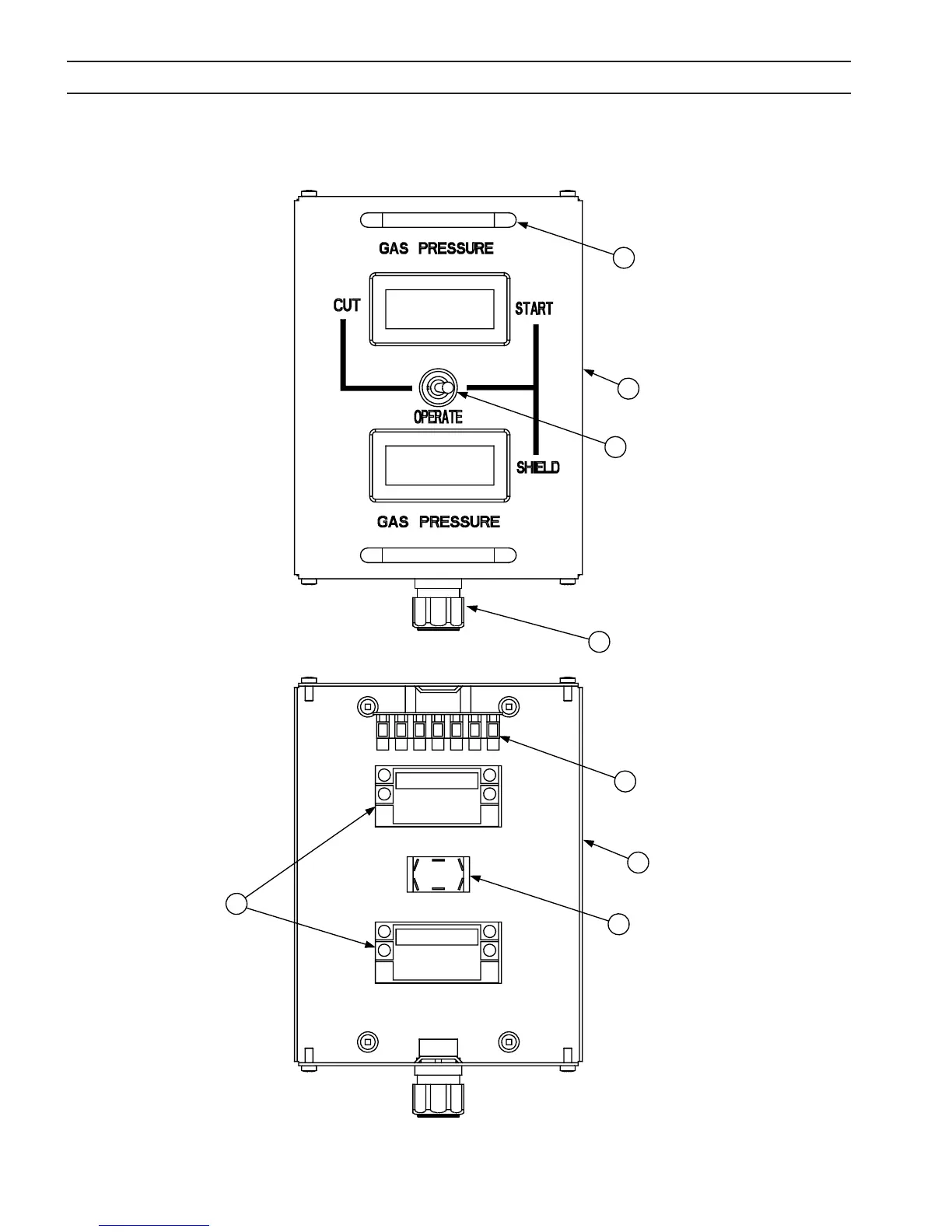
7.10 Remote Setup Pendant P/N 37145

Related product manuals