EasyManua.ls Logo

ESP MAGPRO16 - Appendix D

ESP MAGPRO16
55 pages
Print Icon
To Next Page IconTo Next Page
To Next Page IconTo Next Page
To Previous Page IconTo Previous Page
To Previous Page IconTo Previous Page
Loading...
MAGPRO16 Addressable Fire Alarm Panel Installation and Programming Manual
52
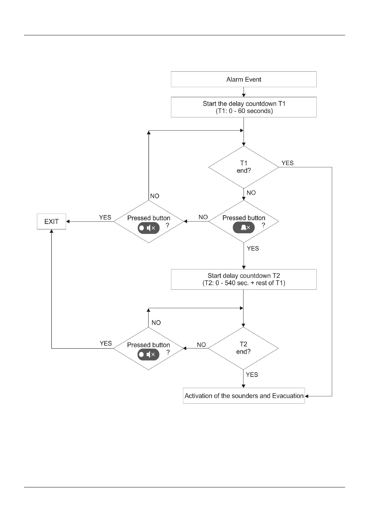
APPENDIX D
Two steps of alarming Algorithm.

Table of Contents

Related product manuals