EasyManua.ls Logo

Et system LAB-HP/E Series - Appendix; Equivalent Leakage Current Measurement According to VDE 0701

Et system LAB-HP/E Series
41 pages
Print Icon
To Next Page IconTo Next Page
To Next Page IconTo Next Page
To Previous Page IconTo Previous Page
To Previous Page IconTo Previous Page
Loading...
Appendix
ET System electronic GmbH 31
APPENDIX
EQUIVALENT LEAKAGE CURRENT MEASUREMENT ACCORDING TO VDE 0701
The equivalent leakage current measuring according to DIN VDE 0701-1 may deliver results beyond the norm.
Cause: Measurements are primarily performed on so-called EMC-filters at the AC input of the units. These filters are
built symmetrical, that means capacitors are installed between L1/2/3 and PE. While measuring, L1, L2 and L3 are
connected together and the current flow to PE is measured. Therefore, up to 3 capacitors are connected parallel
which doubles or triples the measured leakage current. This is permissible according to the norm.
Quotation from the norm of 2008, appendix D:
When measuring protection conductor currents with the equivalent leakage current measuring method, it is
important to note that devices with protective grounds and symmetrical circuits may have results, due to the wiring,
that are up to three or four times higher than the leakage current of one phase.“
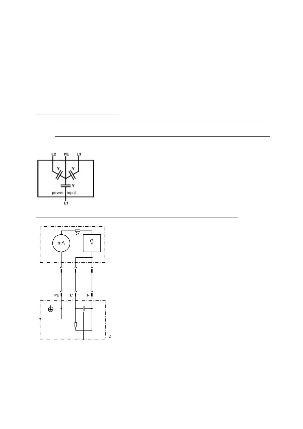
Graphical representation of a balanced circuit:
Example illustration from the norm protective ground measuring - equivalent leakage current measuring method:
Note: The illustration shows the measurement method for two-phase power supplies. In the three-phase version, phase N is
replaced by L2 and/or L3.

Table of Contents