EasyManua.ls Logo

ETC Source Four - Beam Shaping

ETC Source Four
16 pages
Print Icon
To Next Page IconTo Next Page
To Next Page IconTo Next Page
To Previous Page IconTo Previous Page
To Previous Page IconTo Previous Page
Loading...
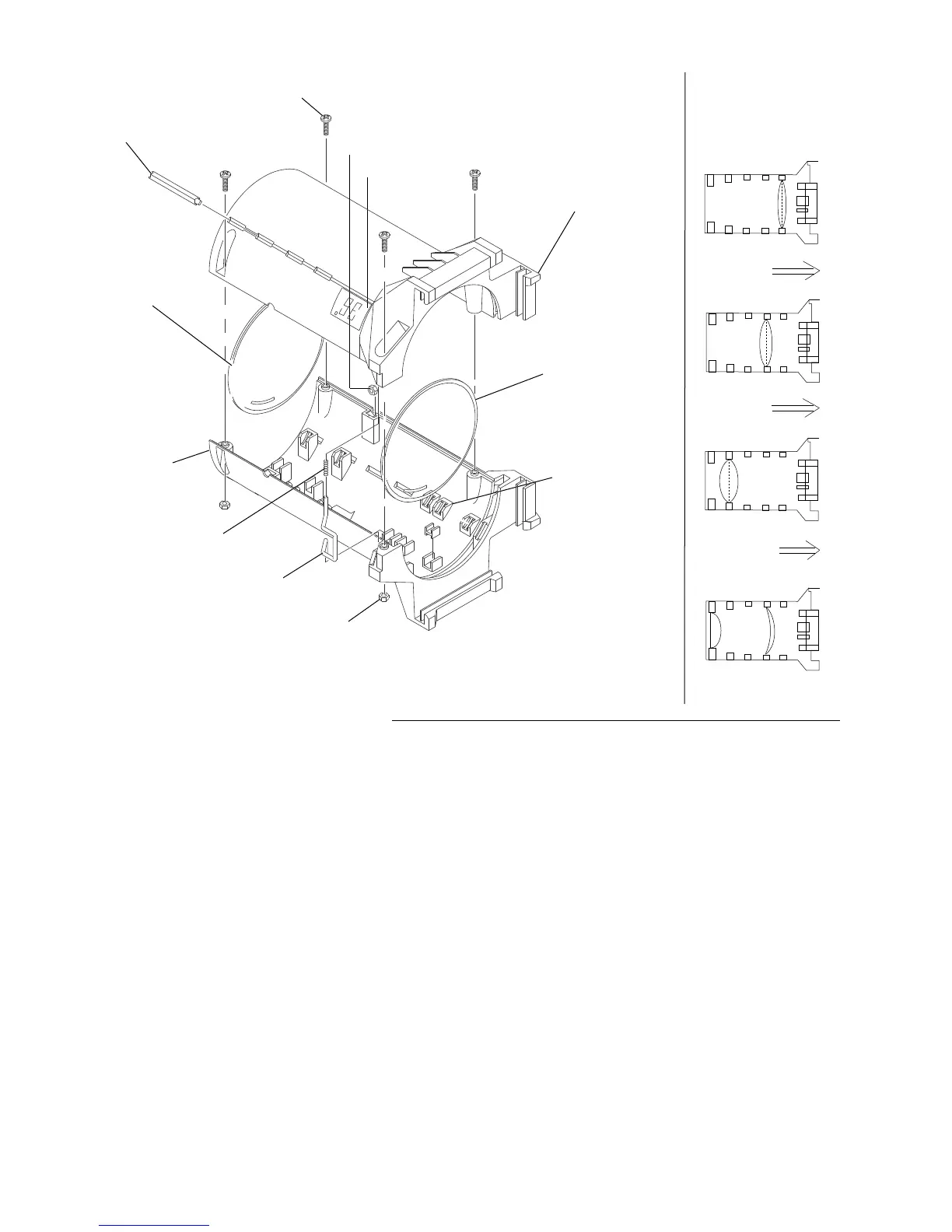
10
19° (6x16)
Red dot
26° (6x12)
Black dot
50° (4.5x6)
Yellow dot
36° (6x9)
No dots
Place side of lens
with painted dot
toward front of
fixture.
Note: Each lens is different.
Do not interchange. i.e., do not
place a 19° lens in a 26° slot.
3
(4 required)
8A
1
10
9
12
(4 required)
4
(4 required for 19°, 26°, 50° lens)
(8 required for 36° lens set)
5
6
7
8
11
(4 required)
13
2
19°, 26°, 36°, and 50° lens tubes
Reference Part Description Quantity
Number Number Required
1 7060A3050 Lens holder, left casting, painted 1
2 7060A3051 Lens holder, right casting, painted 1
3 7060A4009 Bushing, guide 4
4 7060A4012 Pad lens support - asphere 4
Pad lens support - meniscus set 8
5 7060A4002 Aspheric lens, 19° 1
6 7060A4001 Aspheric lens, 26° 1
7 7060A4004 Aspheric lens, 50° 1
8 7060A4020 Meniscus lens, 36° set, front 1
8A 7060A4021 Bi-convex lens, 36° set, rear 1
9 7060A3079 Clip, gel retainer, 90° bend 1
10 HW750 Spring, retainer 1
11 HW391 Screw, PHMS, 8-32 x 3/4, black zinc 4
12 HW370 Nut, Ny-Lok, 8/32, black zinc 4
13 HW534 Nut, hex, 1/4-20, black zinc 1
14 7060A4033 19° lens tube label 1
15 7060A4034 26° lens tube label 1
16 7060A4035 36° lens tube label 1
17 7060A4036 50° lens tube label 1
14,15,16,17
2/96

Other manuals for ETC Source Four

Related product manuals