EasyManua.ls Logo

ETC Source Four - Replacing the HPL Lamp

ETC Source Four
16 pages
Print Icon
To Next Page IconTo Next Page
To Next Page IconTo Next Page
To Previous Page IconTo Previous Page
To Previous Page IconTo Previous Page
Loading...
8
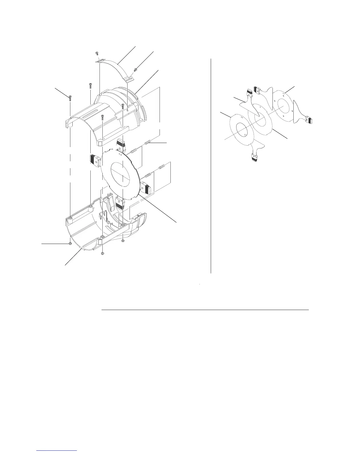
Front barrel assembly
Reference Part Description Quantity
Number Number Required
1 7060A3052 Front barrel, top casting, painted 1
2 7060A3053 Front barrel, bottom casting, painted 1
3 7060A2025 Shutter blade assembly, 22 gauge 4
4 7060A3001-01 Plate, divider with dimples (bottom) 1
5 7060A3003 Plate, gate (middle) 1
6 7060A3001-02 Plate, divider (top) 1
7 HW754 Shutter spring 4
8 HW370 Nut, Ny-lok, 8/32, black zinc 4
9 HW391 Screw, PHMS, 8/32 x 3/4, black zinc 4
10 7060A3045 Cover, iris slot 1
11 HW2137 Screw, 6-32 x 1/4, black zinc 2
Note: The bottom divider plate (4)
has four dimples punched into the
surface; the top plate (6) has none.
The middle divider plate (5) is
noticeably thinner-gauge metal
than the other two.
(See detail to the right)
4
6
5
3
(4 required)
7
(4 required)
2
8
(4 required)
9
(4 required)
10
11
(2 required)
1
3
4
5
6
2/96
2/96

Other manuals for ETC Source Four

Related product manuals