EasyManua.ls Logo

Everlast Cyclone 262 - Rear Panel View and Component ID

Everlast Cyclone 262
39 pages
Print Icon
To Next Page IconTo Next Page
To Next Page IconTo Next Page
To Previous Page IconTo Previous Page
To Previous Page IconTo Previous Page
Loading...
22
FUSE
1x220
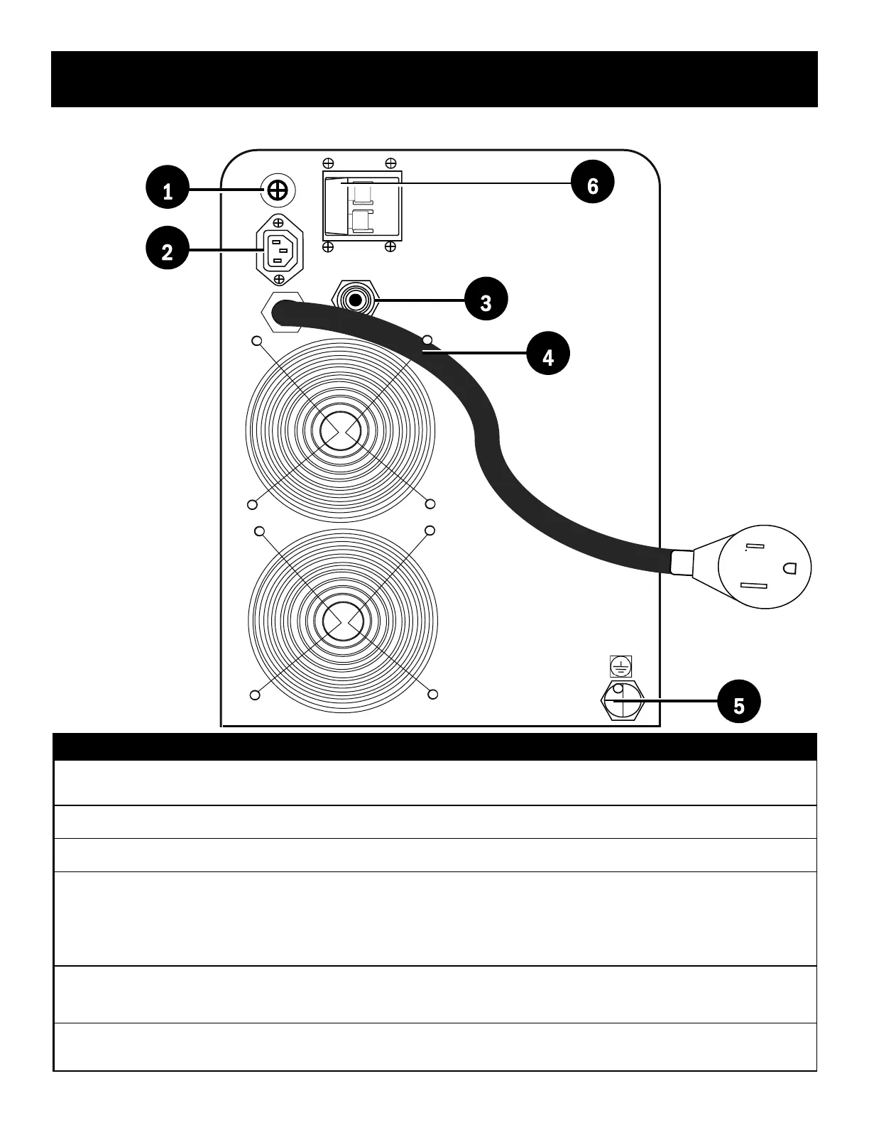
Component Identification and Explanation
Rear Panel View
# Component Identification Component Note
1 Fuse This fuse protects the wire feeder and certain components from damage. If the wire feeding stops or the machine suddenly powers down without
warning, check the fuse. Replace the fuse with the identical type supplied with the machine. Check the marking on the fuse for Amperage and
type. Do not replace with smaller or larger Amperage fuses. This is a common type automotive fuse.
2 240V Cooler Outlet This is a low Amp 240V receptacle. Use only with Everlast 240V coolers. Other use may cause damage or re. Do not attempt to modify this
receptacle or wiring. This outlet is switched via the main power switch and will not supply power while the machine is off.
3 MIG inlet connector 5/8” CGA Inert Gas tting. This is a standard tting use for connection of all argon and argon/CO2 gas ttings to regulators in the North American
Market. Other regions may vary the type supplied.
4 Input Cable and Plug
The unit may be operated on either 240V 50/60Hz (± 10%) 1 phase input power. 208V will affect accuracy of adjustment and output. Use a buck-
boost transformer if voltage is derived from 208V Wye type service. North American standards require only 3 wires for 1 phase operation of
welders. A neutral is not used . For wiring a 1 phase connection to the unit: Use Black for L1, White for L2, and Green for ground (not neutral)
use. Red is not typically used in wiring a welder circuit. This is in accordance with North American codes for welder wiring (see Article 630 of the
NEC for more wiring info). The supplied NEMA 6-50P is the proper plug used for wiring single phase 240V welders in North America. It should
not be changed or removed unless wiring directly into a cut-off switch. Other regions may vary and may have a different plug type or no plug at
all.
5 Ground Service Bolt For use in a combined effort to mitigate any electrical interference that may be caused by the operation of this unit. This should be connected (if
needed) to an outside ground rod driven into the soil. Normally this is not used unless interference is observed. If it is needed, this repre-
sentsis an extensive grounding project. First try relocating the welder and affected objects. If no success is obtained, inspect building ground.
If nothing is found then All metal objects should be attached to a separate ground outside the shop. Contact Everlast for further details.
6 Breaker/Power Switch. This switch doubles as the main power switch and disconnect switch. If this switch trips and the welder power turns off, a signicant internal
event or failure of the switch may have occurred. If this occurs, immediately remove this unit from service and mark/tag according to regulations.
Contact Everlast Tech Support for further diagnosis and/or repair options.
1
4
3
MIG GAS
6
2
1x220V
5