EasyManua.ls Logo

Extra 330lx - Rate of Climb Performance; Rate of Climb Performance Charts

Extra 330lx
250 pages
Print Icon
To Next Page IconTo Next Page
To Next Page IconTo Next Page
To Previous Page IconTo Previous Page
To Previous Page IconTo Previous Page
Loading...
Page Date: 19. February 2014 5 - 9
Section 5
Performance
Pilot´s Operating Handbook US
EXTRA 330LX
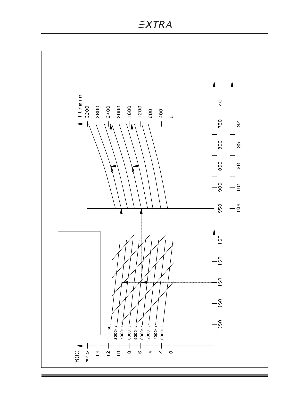
5.6 RATE OF CLIMB PERFORMANCE
(-36°F)
(-18°F)
(+18°F) (+36°F)
-20°C
-
2
0
°
C
(
-
4
°
F
)
-10°C
-
1
0
°
C
(
1
4
°
F
)
+10°C
+
1
0
°
C
(
5
0
°
F
)
+20°C
+
2
0
°
C
(
6
8
°
F
)
+
3
0
°
C
(
8
6
°
F
)
0
°
C
(
3
2
°
F
)
(193) (187) (181) (176) (170)
V
Y
Weight
KIAS
(km/h)
EXAMPLE:
Weight: 850 KG (1874 LBS)
PA: 2000 ft (ISA) 8000 ft (ISA)
ROC: 2320 ft/min 1520 ft/min
Power: Max. power, full rich, 2600 rpm
(2095) (1985) (1874) (1764) (1654) (lbs)
MTOW

Table of Contents

Related product manuals