EasyManua.ls Logo

Fancom LM.250 - LM 3 Phase Y control connection; LM 3 Phase Y motor connection; LM 3 Phase Delta control connection

Default Icon
67 pages
Print Icon
To Next Page IconTo Next Page
To Next Page IconTo Next Page
To Previous Page IconTo Previous Page
To Previous Page IconTo Previous Page
Loading...
Gnd
15
g
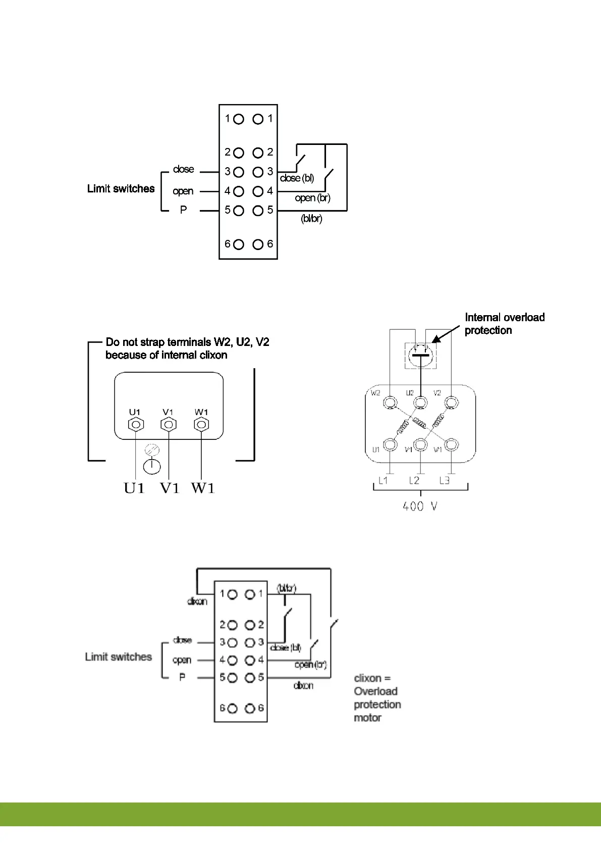
7.3 Control connection LM 3 Phase Y
7.4 Motor connection LM 3 Phase Y
7.5 Control connection LM 3 Phase Δ

Table of Contents