EasyManua.ls Logo

Fancom LM.250 - Aansluiting Sturing LM 3 Fase y; Aansluiting Motor LM 3 Fase y; Aansluiting Sturing LM 3 Fase Δ

Default Icon
67 pages
Print Icon
To Next Page IconTo Next Page
To Next Page IconTo Next Page
To Previous Page IconTo Previous Page
To Previous Page IconTo Previous Page
Loading...
gNd
15
n
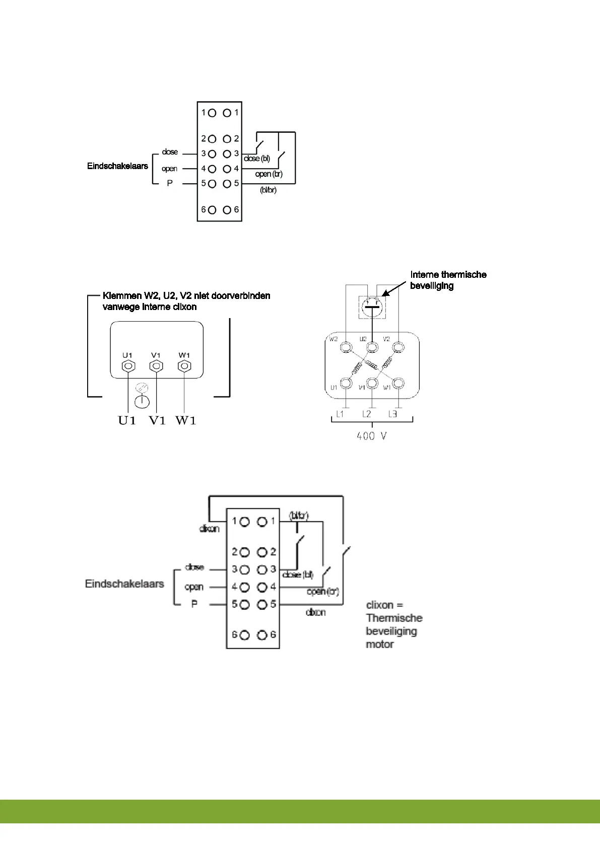
7.3 Aansluiting sturing LM 3 fase Y
7.4 Aansluiting motor LM 3 fase Y
7.5 Aansluiting sturing LM 3 fase Δ

Table of Contents

Related product manuals