EasyManua.ls Logo

Fleck 2900S - Environmental Backplate Line Drawing

Fleck 2900S
64 pages
Print Icon
To Next Page IconTo Next Page
To Next Page IconTo Next Page
To Previous Page IconTo Previous Page
To Previous Page IconTo Previous Page
Loading...
Page 52
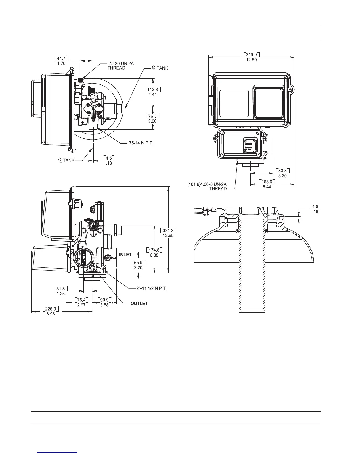
Environmental Backplate Dimensions
61500-2900LNE_REVB