EasyManua.ls Logo

Flowserve 6LR-18A - Page 109

Flowserve 6LR-18A
116 pages
Print Icon
To Next Page IconTo Next Page
To Next Page IconTo Next Page
To Previous Page IconTo Previous Page
To Previous Page IconTo Previous Page
Loading...
LR, LRV, LLR and LR-S USER INSTRUCTIONS ENGLISH 71569088 08-10
Page 41 of 48 flowserve.com
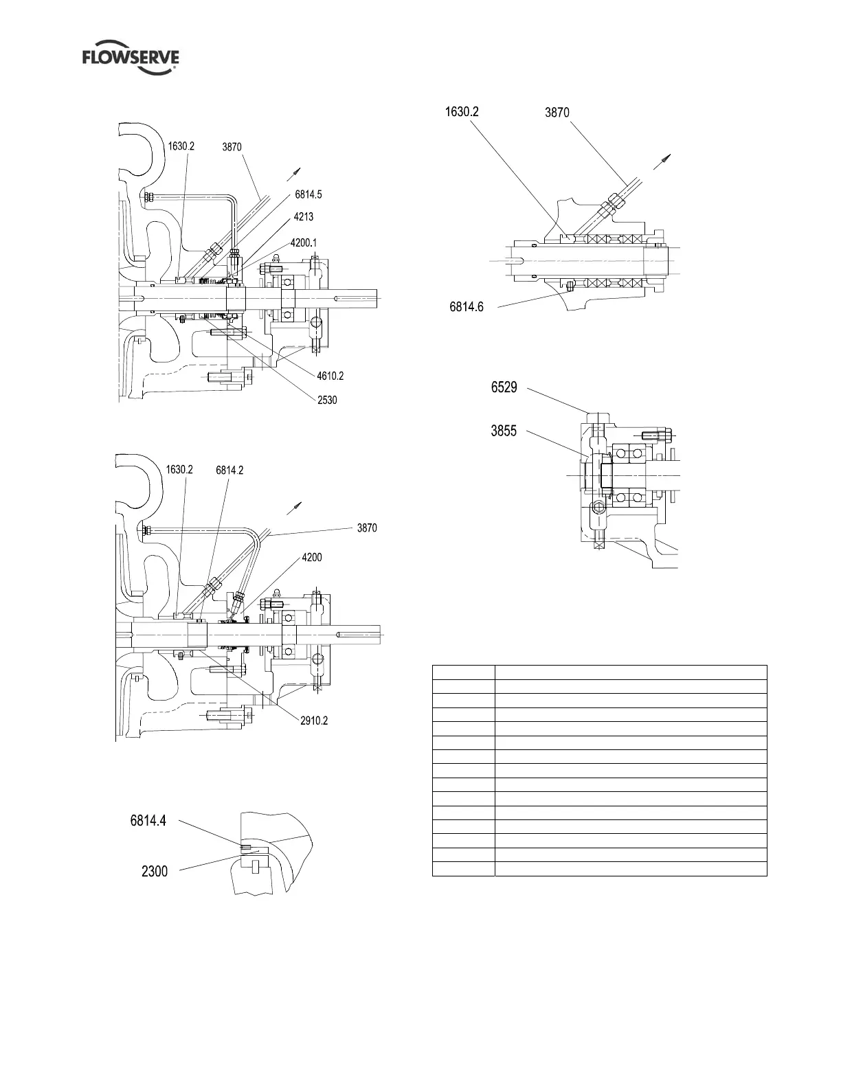
8.3.2 Options - LLR
Scrap section showing mechanical seal
Scrap section showing shaft without sleeve
and with cartridge seal assembly
Impeller wear ring
Optional second stage stuffing box arrangement
on higher pressure applications
Oil lubrication (optional)
(Drawings taken from A336/042, sheet 2, rev -)
8.3.3 Options parts list - LLR
Ref. no. Description
1630.2 Throttle bush
2300 Impeller wear ring
2530 Retaining ring *
2910.2 Shaft nut
3855 Constant level oiler
3870 Return pipe
4200 Mechanical seal (cartridge)
4200.1 Mechanical seal
4213 Mechanical seal cover
4610.2 O-ring
6529 Ventilation device (breather)
6814.4 Grub screw
6814.5 Grub screw *
6814.6 Grub screw
* When required, dependent on type of mechanical seal fitted.
To first
stage suction
To first
stage suction
To first
stage suction

Table of Contents

Related product manuals