EasyManua.ls Logo

Follett Symphony C110FB400A/W - Page 9

Follett Symphony C110FB400A/W
28 pages
Print Icon
To Next Page IconTo Next Page
To Next Page IconTo Next Page
To Previous Page IconTo Previous Page
To Previous Page IconTo Previous Page
Loading...
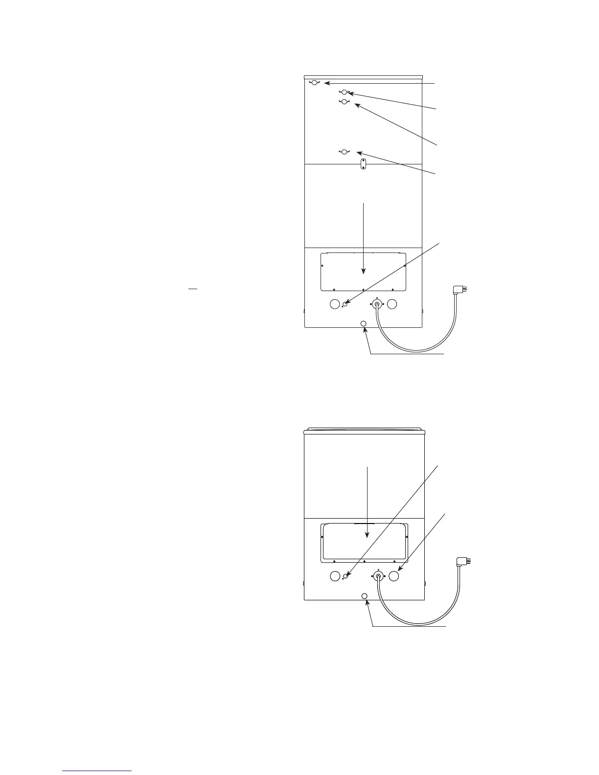
10. Apply a thick bead, approximately. 6mm (1/4")
diameter, of NSF listed silicone sealant (Dow-
Corning RTV-732 or equivalent) 6mm (1/4") inside
marked outline of dispenser.
11. Carefully position dispenser on counter.
12. Remove four screws securing splash panel to front
of dispenser and gently lay splash panel on counter.
(Water line to solenoid valve can be disconnected
from water inlet valve by pushing on ring at end of
inlet  tting while pulling on tubing.)
13. Secure dispenser to counter with four 3/8" bolts
(supplied by others).
14. Smooth excess sealant around outside of dispenser.
15. Run water station line from back of dispenser
through utility knock-out (Figs. 4, 5) or up through
counter cut-out. Connect water supply line to 3/8"
FPT, (Fig. 3J)  tting on utility  ange at bottom of
dispenser.
16. Remove 3/4" drain connection plug from either  tting
at rear of dispenser, (Fig. 1K) or internal  tting, (Fig.
3L), as appropriate. Connect and run a dedicated
drain line to wall or  oor drain. An air break should
be provided.
If dispenser is equipped with a top mount, water-
cooled icemaker complete steps 17 through 20.
If equipped with a top mount,
air-cooled icemaker proceed to step 21.
17. Connect icemaker water supply line to 3/8" FPT
water inlet, (Fig. 4M).
18. Connect icemaker drain line to 3/4 MPT drain
connection (Fig, 4N).
19. If icemaker is water-cooled, connect water-cooled
condenser supply line to 3/8" FPT condenser  tting
on back of dispenser (Fig. 4R).
Note: Do not run condenser supply water through
icemaker water  lter system.
20. Connect condenser drain line to 3/8" FPT  tting on
back of dispenser (Fig. 4P).
Important: Do not connect condenser drain line to
any other drain lines.
21. Proceed with either RIDE or top-mounted icemaker
connection instructions, as appropriate.
9
Fig. 4 – Rear connections, countertop models with
integral icemakers
Fig. 5 – Rear connections, countertop models with RIDE
icemakers
access panel
access panel
(M) 3/8" FPT
icemaker water inlet
(R) 3/8" FPT condenser inlet
(water-cooled only)
(P) 3/8" FPT
condenser outlet
(water-cooled only)
(N) 3/4" MPT
icemaker drain
(H) utility knock-out
(G) ice transport tube knock-out
(H) utility knock-out
3/4" FPT dispenser
drain
3/4" FPT dispenser
drain

Related product manuals