EasyManua.ls Logo

Fromm FR330 - Pannello Comandi; Control Panel

Fromm FR330
94 pages
Print Icon
To Next Page IconTo Next Page
To Next Page IconTo Next Page
To Previous Page IconTo Previous Page
To Previous Page IconTo Previous Page
Loading...
36
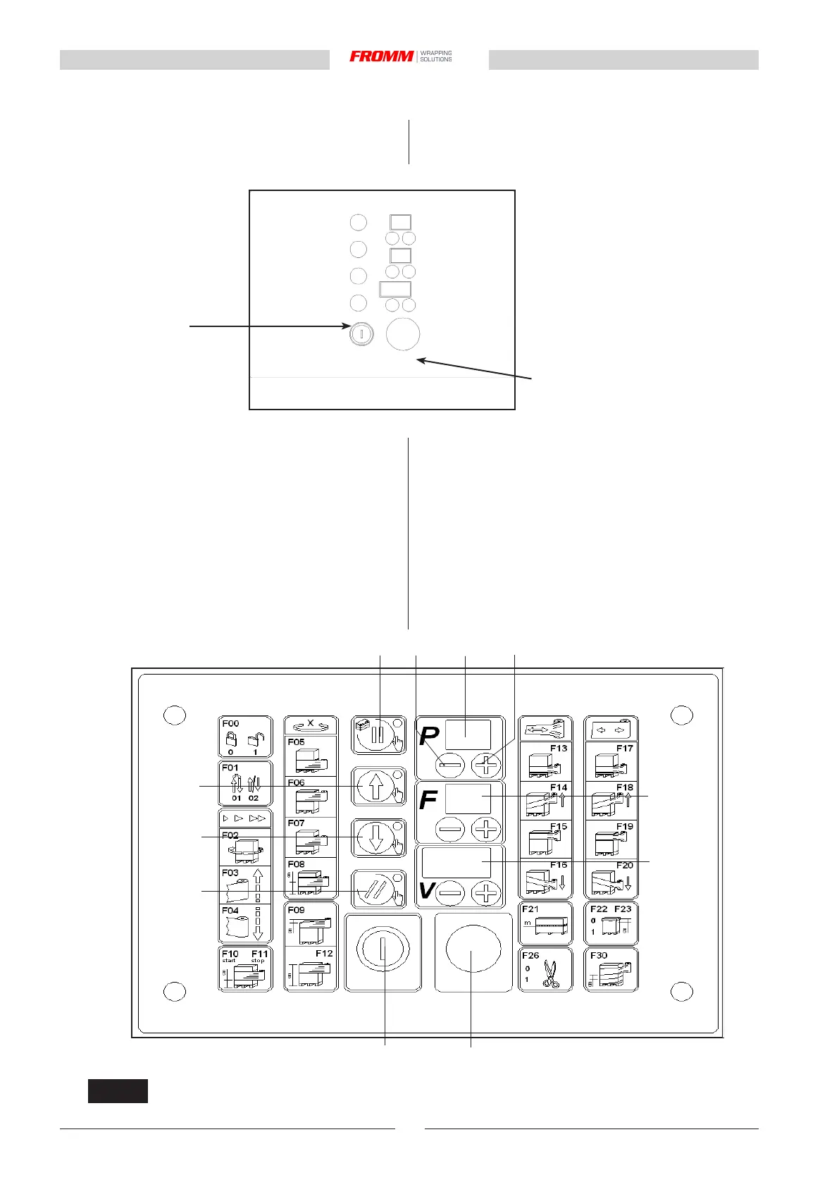
Fig. 5.
E
G
F
H
B
M
L
C
D
O
A
2
1
5. PANNELLO COMANDI
1. Pulsante ripristino
Fornisce alimentazione ai circuiti ausiliari, deve es-
sere premuto per l'accensione o dopo la pressione
del pulsante di emergenza.
2. Pulsante di emergenza
Arresta la macchina e disinserisce la tensione di
alimentazione generale in situazioni di emergenza o
pericolo imminente; per il riarmo dopo la pressione,
ruotare la calotta del pulsante in senso orario.
5. CONTROL PANEL
1. Reset button
Provides power to the auxiliary circuits, has to be
pressed to switch on or after the emergency button
has been pressed.
2. Emergency button
Stop the machine and cuts off the main power supply
in situations of emergency or imminent danger; to
reset the button once it has been pressed, turn the
top of the button clockwise.

Related product manuals