EasyManua.ls Logo

FUNAI WL6D-M102 - Front Panel Display Guide

FUNAI WL6D-M102
72 pages
Print Icon
To Next Page IconTo Next Page
To Next Page IconTo Next Page
To Previous Page IconTo Previous Page
To Previous Page IconTo Previous Page
Loading...
16
EN
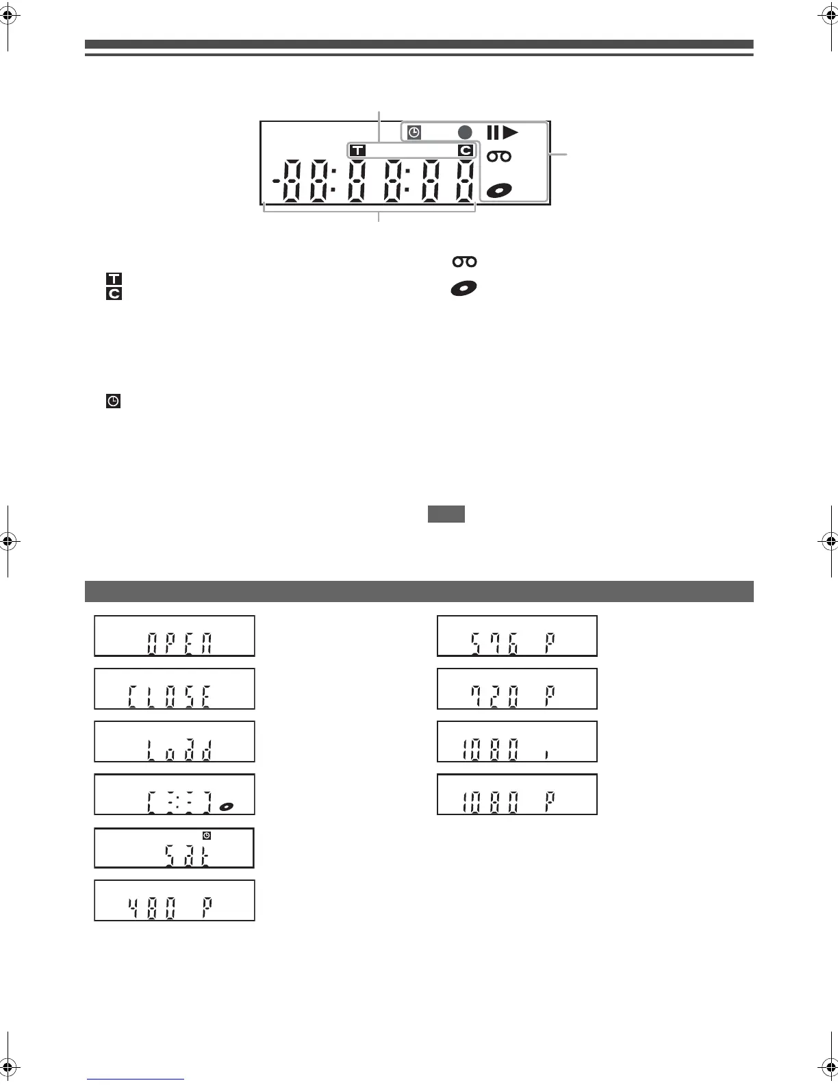
Front Panel Display Guide
1 Title / Track and Chapter number
2 Current status of the unit
3 Displays the following
Playing back time
Current title / chapter / track / file number
Recording time / remaining time
•Clock
One-touch Timer Recording (OTR) remaining time
Selected HDMI video resolution
Note
Except when satellite recording is in standby, front panel
display stays off while the power is off/timer-standby mode.
This is a new Power Save (ECO) feature.
The disc tray is opening.
The disc tray is closing.
A disc is loading.
Data is being recorded on a
disc.
Appears when the satellite
link recording is in standby.
Appears when HDMI video
resolution (480p) is
selected.
Appears when HDMI video
resolution (576p) is
selected.
Appears when HDMI video
resolution (720p) is
selected.
Appears when HDMI video
resolution (1080i) is
selected.
Appears when HDMI video
resolution (1080p) is
selected.
DB
DVD
VCR
3
2
1
: Title / track number
: Chapter number
F: Appears when playback is paused.
Appears during step by step playback.
B: Appears when playing back a disc.
F B: Appears during slow forward / reverse playback.
: Appears when the timer programming or One-
touch Timer Recording (OTR) is set and operating.
Appears when the unit goes into the satellite link
standby or recording mode.
Flashes when timer programming and satellite
recording was not executed because of some
error.
I: Appears during recording.
Flashes when recording being paused.
: Appears when a videotape is in this unit.
: Appears when a disc is in this unit.
: Appears during dubbing.
:Appears when this unit is in DVD output mode, or
the timer-standby mode for DVD recording.
:Appears when this unit is in VCR output mode, or
the timer-standby mode for VCR recording.
DB
DVD
VCR
Display Messages
DVD
DVD
DVD
DVD
DVD
DVD
DVD
DVD
DVD
DVD
E9RF0FH_EN.book Page 16 Friday, May 16, 2014 7:17 PM

Table of Contents

Related product manuals