EasyManua.ls Logo

FUTABA 7CAP - Using the TIMER Submenu; TIMER Functionality for Flight Tracking; Setting a Countdown Timer with Throttle Stick

FUTABA 7CAP
82 pages
Print Icon
To Next Page IconTo Next Page
To Next Page IconTo Next Page
To Previous Page IconTo Previous Page
To Previous Page IconTo Previous Page
Loading...
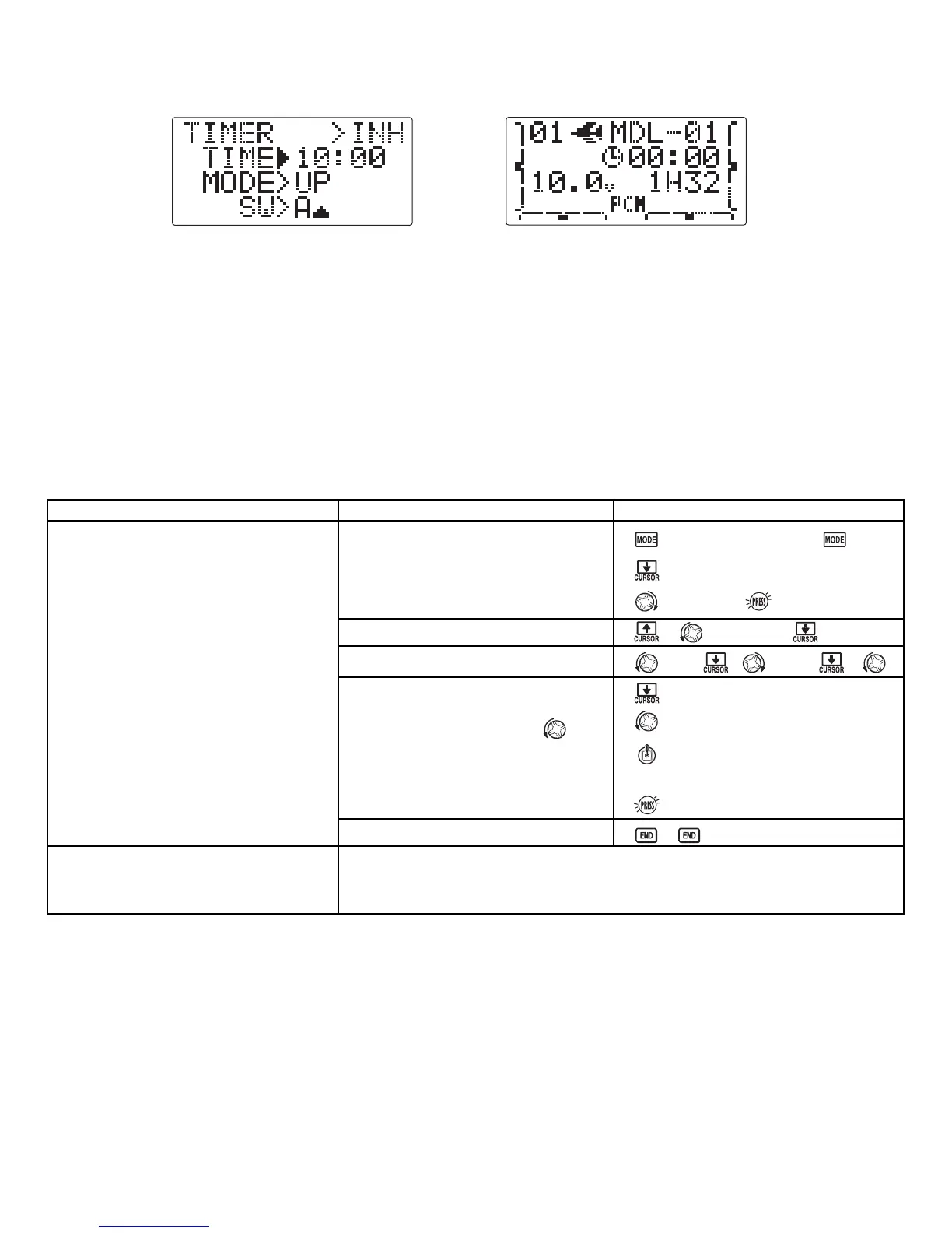
TIMER submenu (stopwatch functions): controls an electronic clock used to keep track of time remaining in a competition time
allowed, flying time on a tank of fuel, amount of time on a battery, etc.
Adjustability:
Count down timer: starts from the chosen time, displays time remaining. If the time is exceeded, it continues to count
below 0.
Count up timer: starts at 0 and displays the elapsed time up to 99 minutes 59 seconds.
Independent to each model, and automatically updates with model change.
In either TIMER mode, the timer beeps once each minute. During the last twenty seconds, there's a beep each two seconds.
During the last ten seconds, there's a beep each second. A long tone is emitted when the time selected is reached.
To Reset, choose the desired timer with the SELECT key (while at the startup screen), then press and hold DIAL for 1 second.
Activation by either direction of
To quickly reset any timer from the home screen, cursor down until the timer blinks. Press dial to reset.
S
WITCH A-H,bySTICK (1-4) . THROTTLE STICK is convenient if you are keeping track of
fuel remaining, or for an electric, how much battery is left.
GOAL of EXAMPLE: STEPS: INPUTS:
37
Set timer to count down 4-1/2
minutes, being controlled by
THROTTLE STICK position. This is
utilized to keep track of actual
Throttle on time to better correlate
with fuel/battery usage.
Where next?
Open BASIC menu, then
open TIMER function.
Adjust time to 4 min. 30 sec., count down.
Activate the function.
Assign to T
HROTTLE STICK and set
trigger point (if timer is to trigger
BELOW this throttle point, so
arrow points down).
Close.
for 1 second.
(If ADVANCE, again.)
to page 3.
to TIMER.
to 4. to 30.
to SW.
to 3(arrow points up).
T
HROTTLE STICK to desired
position (Ex: 1/4 stick).
for 1 second to set.
Adjust END POINTsafter first flight test: see p. 32.
Adjust auxiliary channel assignments: see p. 28.
Set up TRAINER functions: see p. 38.

Table of Contents

Related product manuals