EasyManua.ls Logo

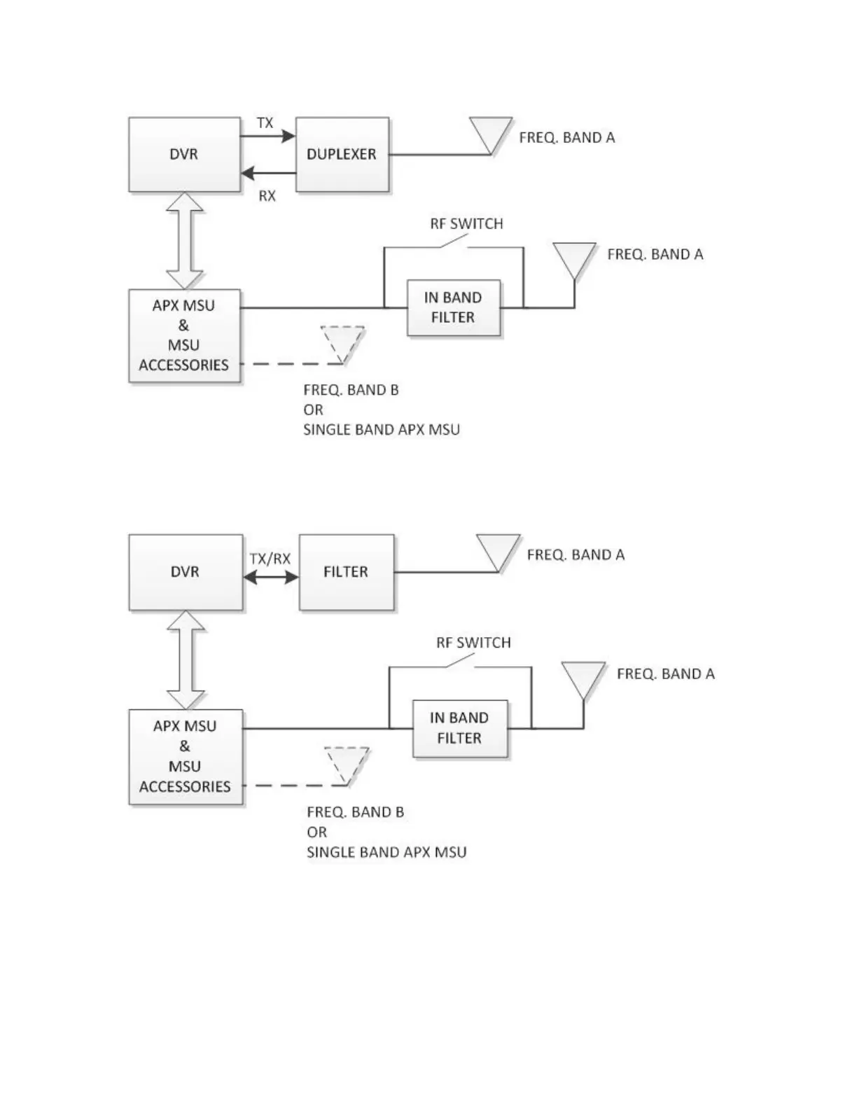
Futurecom P25 - Figure 5 In-Band Full Duplex; Simplex Capable DVRS - Conceptual Diagram; Figure 6 In-Band Simplex Only Capable DVRS - Conceptual Diagram

Default Icon
153 pages
Print Icon
To Next Page IconTo Next Page
To Next Page IconTo Next Page
To Previous Page IconTo Previous Page
To Previous Page IconTo Previous Page
Loading...
8M083X25 R14
APX Series P25 Interface
DVRS Installation & Programming Guide PART I
January 2019
Page 27 of 153
Figure 5 In-Band Full Duplex / Simplex Capable DVRS - Conceptual Diagram
Figure 6 In-Band Simplex Only Capable DVRS - Conceptual Diagram

Table of Contents