EasyManua.ls Logo

Graco 26A814 - Divider Valve

Graco 26A814
26 pages
Print Icon
To Next Page IconTo Next Page
To Next Page IconTo Next Page
To Previous Page IconTo Previous Page
To Previous Page IconTo Previous Page
Loading...
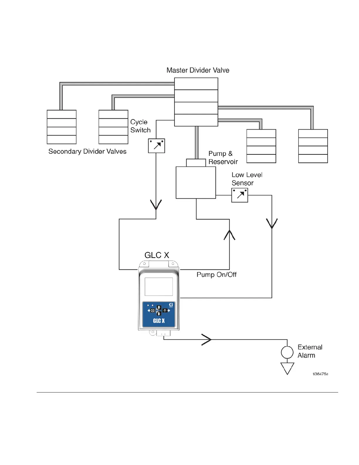
System Configuration
3A7031A 9
Divider Valve
FIG. 7 Divider Valve System Configuration

Related product manuals