EasyManua.ls Logo

Grant Vortex - Boiler Dimensions

Default Icon
64 pages
Print Icon
To Next Page IconTo Next Page
To Next Page IconTo Next Page
To Previous Page IconTo Previous Page
To Previous Page IconTo Previous Page
Loading...
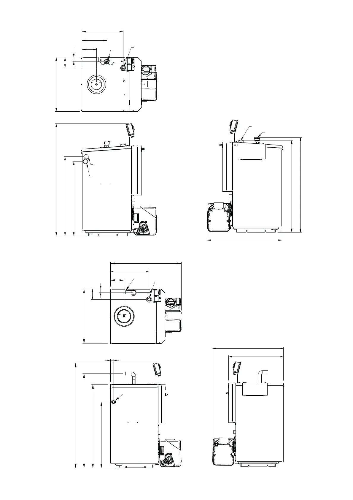
2.5 BOILER DIMENSIONS
Section 2: Technical DataPage 8
Figure 2-1: Vortex 15/26 dimensions
Figure 2-2: 26/36 & 36/46kW
PLAN VIEW
LEFT SIDE VIEW
RIGHT SIDE VIEW
116
198
327
32
86
590
629
891
594
431
730
750
RETURN
FLOW
CONDENSATE OUTLET
(15-21 & 21-26)
CONDENSATE OUTLET
(26-35)
FLOW
RETURN
PLAN VIEW
LEFT SIDE VIEW
RIGHT SIDE VIEW
591
458
27
28
88
323
RETURN
FLOW
CONDENSATE
DRAIN
789
877
553
699
455
594
113

Table of Contents

Related product manuals