EasyManua.ls Logo

GRAPHTEC FC9000-160 - Page 34

GRAPHTEC FC9000-160
227 pages
Print Icon
To Next Page IconTo Next Page
To Next Page IconTo Next Page
To Previous Page IconTo Previous Page
To Previous Page IconTo Previous Page
Loading...
FC9000-UM-251-9370 4-11
4 OPER ATIONS
Continued
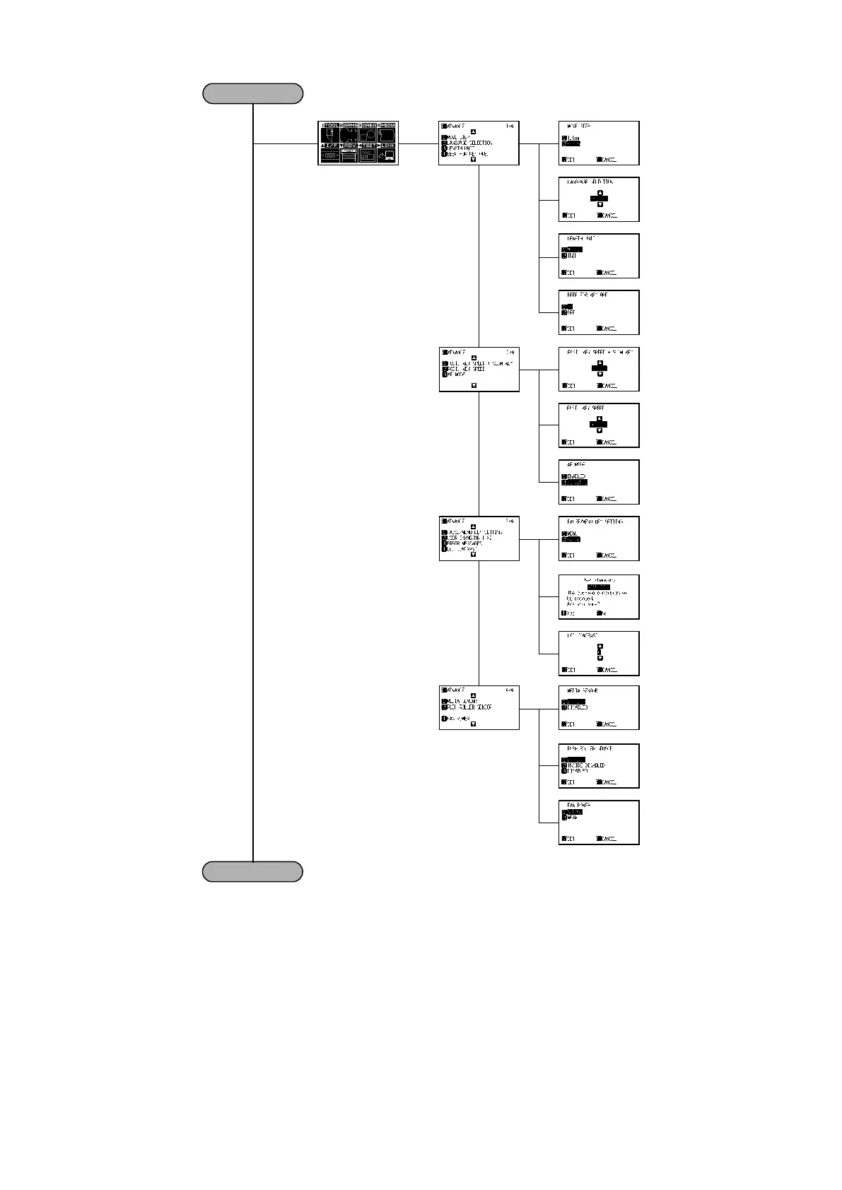
MENU Screen
ADVANCE
Screen 2/4
ADVANCE
Screen 3/4
ADVANCE
Screen 4/4
ADVANCE
Screen 1/4
Default Screen (Continued)
[PAUSE/MENU] [] [1]
[2]
[3]
[1]
[2]
[3]
[4]
[1]
[2]
[4]
[1]
[2]
[4]

Table of Contents

Other manuals for GRAPHTEC FC9000-160

Related product manuals