EasyManua.ls Logo

Greenbridge PC1000 - Page 24

Default Icon
218 pages
Print Icon
To Next Page IconTo Next Page
To Next Page IconTo Next Page
To Previous Page IconTo Previous Page
To Previous Page IconTo Previous Page
Loading...
-A13-2-
For 1250W/1650W
Step 9
Step 11
Step 10
Fig. D
For 1050W/1650W
Fig. E Fig. F
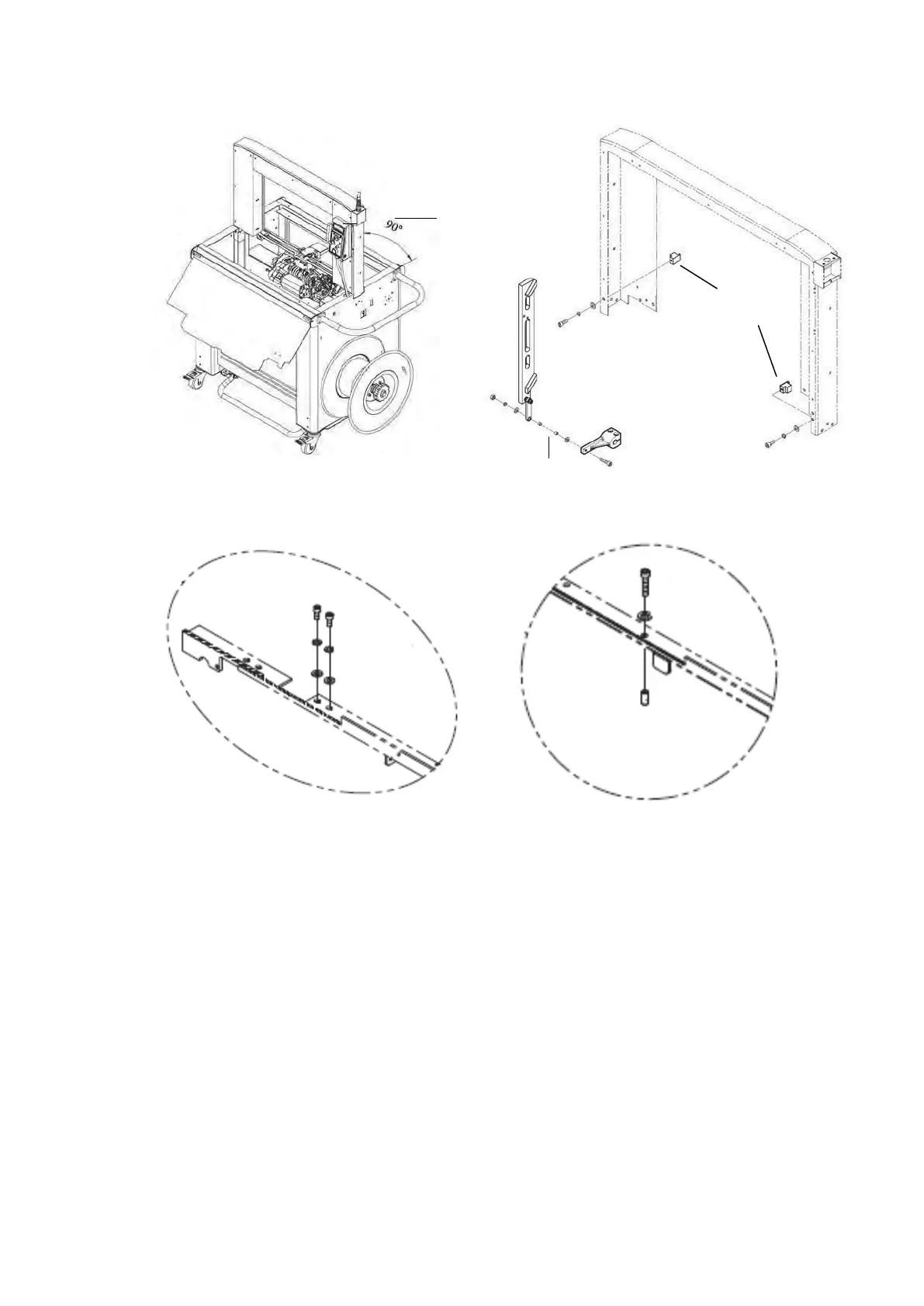
f. Make sure the Arch Unit is vertical (90
0
) to the machine frame and then fix 6 sets
of Item D (HBS0616+SW06+PW06A) which are on both sides of Arch Unit.
g. Adjust the position of Guide LH and Guide RH close to the Strap track. The
clearance should be smaller than 0.5mm. When the width of arch is
1050W/1650W, its necessary to have Item I parts help to fix Guide LH. (refer
to fig. E) When the width of arch is 1250W/1650W, its necessary to have Item J
parts help to fix Guide LH & Guide RH. (refer to fig. F)
h. Hook the M7-1-102000 Spring back to M7-1-131101Slide Table Frame (refer
to fig. B) and fix M7-1-101300 Eject Plate (L) with correct direction (refer to
fig. B). Be sure the Slide Table can move freely after fixing it.
Step 6
Fig. C