EasyManua.ls Logo

Hach CLF10sc - Page 99

Hach CLF10sc
132 pages
Print Icon
To Next Page IconTo Next Page
To Next Page IconTo Next Page
To Previous Page IconTo Previous Page
To Previous Page IconTo Previous Page
Loading...
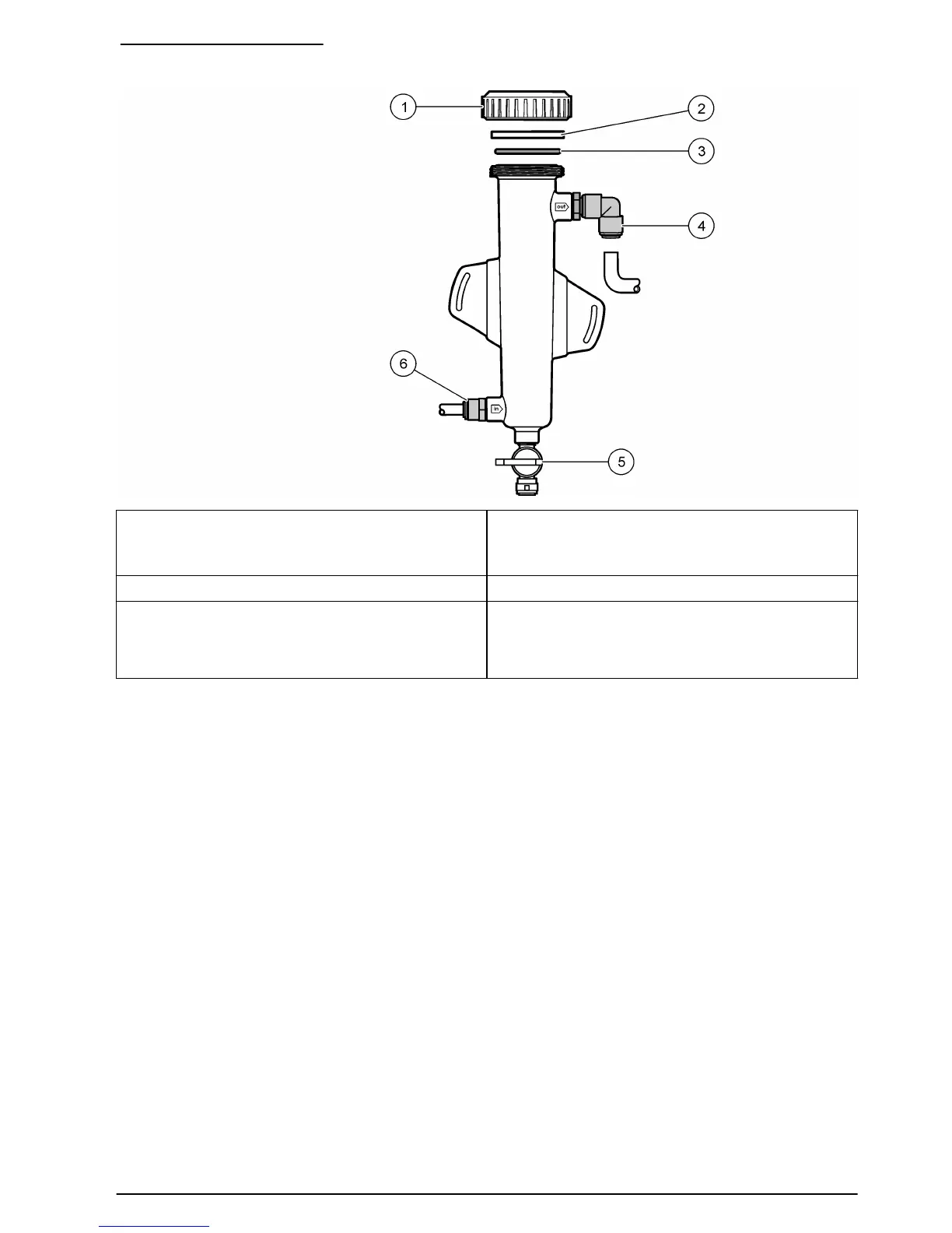
3 pH フローセルの概観
1 固定ナット 4 試料出口継手
インチ: ワンタッチ継手 (エルボ) 1/2 インチ(外径)
メートル: ワンタッチ継手 (エルボ) 12mm (外径)
2 シーリング 5 測定試料用ポート
3 O リング 6 フローセル入口
インチ: ワンタッチ継手 3/8 インチ(外径)
メートル: ワンタッチ継手 10mm (外径)
製品コンポーネント
すべてのコンポーネントが正しく納品されたことを確認してください。 1 ページの 97 を参照して
ください。コンポーネントが不足していたり損傷していたりした場合は、直ちに HACH Japan また
は弊社販売代理店にお問い合わせください。
日本語
99

Related product manuals