EasyManua.ls Logo

Hach CLF10sc - Page 100

Hach CLF10sc
132 pages
Print Icon
To Next Page IconTo Next Page
To Next Page IconTo Next Page
To Previous Page IconTo Previous Page
To Previous Page IconTo Previous Page
Loading...
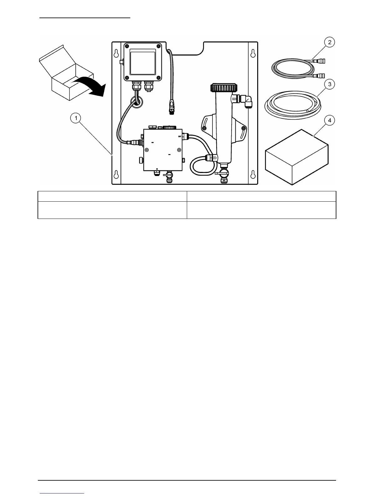
4 無試薬塩素分析計パネル
1 システムパネル 3 チューブ、12 mm (½ インチ)
2 ゲートウェイと変換器を接続するコネクタケーブ
ル、1 m (3.3 フィート)
4 塩素センサ
設置
設置に関する注意事項
設置作業は、機械、電気、配管の順に実施してください。
すべての継手は、手で締め付けるように設計されています。
パネルは、壁取り付けまたはラックに設置するように設計されます。パネルは手の届きやすい場所
に設置してください。
熱源の近くにパネルを設置しないでください。
振動の多い場所にパネルを設置しないでください。
直射日光のあたる場所にパネルを設置しないでください。
パネルは屋内または囲いのある場所に設置してください。
パネルやパネルコンポーネント、特にフローセル、センサ、およびセンサとケーブルの接続部に結
露が生じないようにしてください。
試料供給チューブにはテフロン
®
または PVDF ライナー低密度ポリエチレンチューブを使用して
ください。また、試料供給の遅れを最小限に抑えるように、チューブの長さは可能な限り短くして
ください。
試料の圧力は、センサに継続的な給水を行うのに十分な値にする必要があります。流量が十分であ
る場合は、フローセンサの LED インジケータが点灯します。
センサを良好な状態で動作させるために、流量は可能な限り一定に保ってください。
試料ラインガイドライン
最良の性能が得られため、良好かつ代表的なサンプリングポイントを選んでください。サンプルは水
処理装置の代表となるものでなければなりません。
測定エラーを防ぐには:
サンプルは、プロセスラインに化学薬品が追加される位置より十分に離れた場所からサンプリング
してください。
サンプルは十分に混合されていることを確認してください。
100
日本語

Related product manuals