EasyManua.ls Logo

Hakko Electronics 942 - Entering Tip Offset Values; How to Enter Tip Offset Value

Hakko Electronics 942
20 pages
Print Icon
To Next Page IconTo Next Page
To Next Page IconTo Next Page
To Previous Page IconTo Previous Page
To Previous Page IconTo Previous Page
Loading...
7. ENTERING TIP OFFSET VALUES
Soldering tips have diferent thermal characteristics, depending upon their mass, shape, and surface
area. It is obvious that the tip temperature at idle will not be the same for a fine tip as it will be for a
heavy chisel tip, although the set temperature may be the same for each tip. The difference between
the set temperature and the temperature measured at the tip is called Tip Temperature Offset’. The
offset value may be entered into the station to either add to or subtract from the set value, thus
producing the desired tip temperature.
The Hakko 942 has the ability to electronically compensate for the variations due to tip temperature
offset. When a soldering tip is changed, the proper offset temperature value should be programmed
into the 942.
1.Insert the control card into the slot in the
station.
The station will default to the temperature
setting mode. Set the temperature at
400°C (750°F).
2.Press the button on the front panel
and hold for one second.
This will set the station to the data entry
mode. The existing offset will be displayed.
3.Measure the tip temperature.
4.Enter the offset value
Determine the difference, if any,
between 400°C (750°F) and the
measured tip temperature. Record this
value. See the example following to
determine what value to enter as the
offset for that particular tip.
When entering the hundred dig it, press the
or buttons to select either positive
(0 is displayed) or negative (– is displayed)
sign for the offset to be entered.
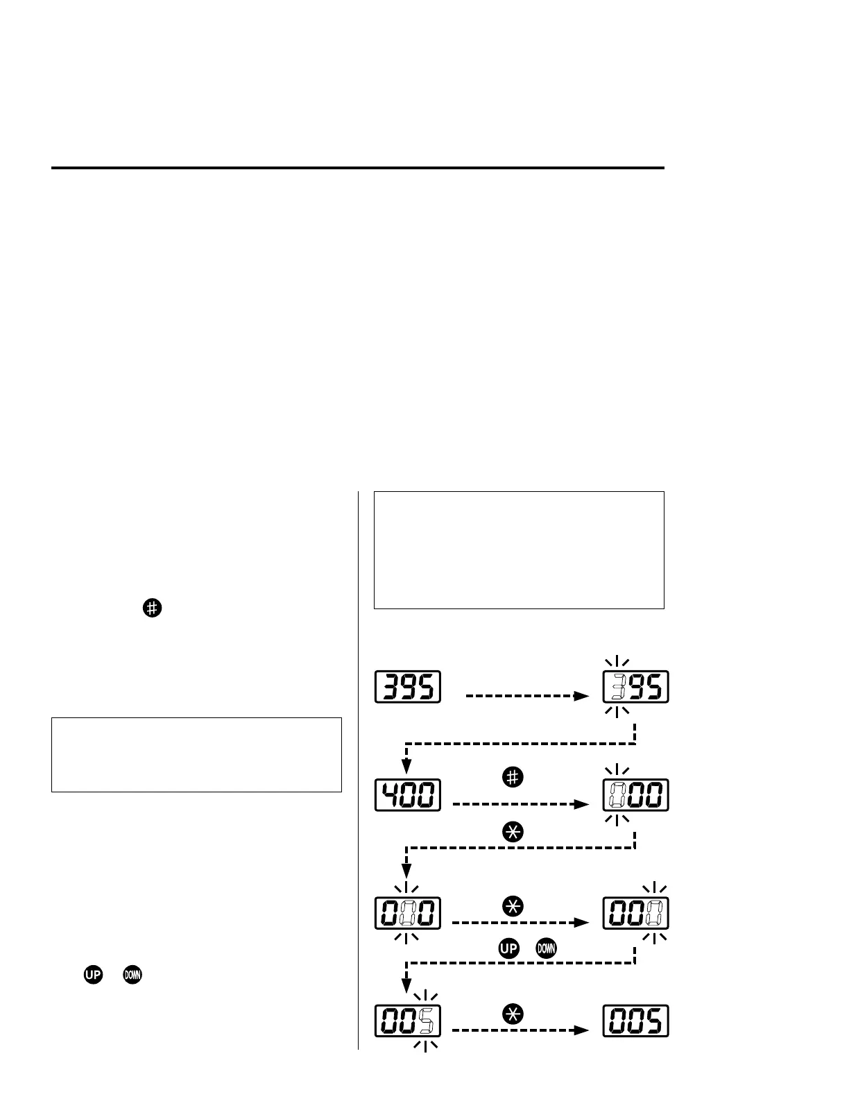
How to enter the tip offset value into the Hakko 942
This method requires measuring the tip temperatures with a tip thermometer and is recommended
for the most accurate process control.
NOTE:
Allow the tip temperature to become stable. During offset
data entry mode, the tip temperature is controlled using
an offset value of 0. The flashing value displayed is not
meaningful.
EXAMPLE:
If the measured temperature is 395°C (740°F), the
dif ference between the set temperature is +5 °C
(+10°F) (the tip is five (ten) degrees too cool) and the
offset is thus +5 °C (+10°F). If the measured
temperature is 405 °C/760°F, the dif ference between
the set temperature is –5 °C (–10°F) (the tip is five
(ten) degrees too hot) and the offset is –5°C (–10°F).
9
Press the button and
hold for one second.
Insert the card.
Default to the
temperature
setting mode
Using the procedure (P7),
set the temperature at 400°C
Press the button once.
Press the button once.
Press the button once.
(When the offset is +5.)
Press the or button.

Related product manuals