EasyManua.ls Logo

Hakko Electronics FR-702 - Page 23

Hakko Electronics FR-702
72 pages
Print Icon
To Next Page IconTo Next Page
To Next Page IconTo Next Page
To Previous Page IconTo Previous Page
To Previous Page IconTo Previous Page
Loading...
22
Offset Temp
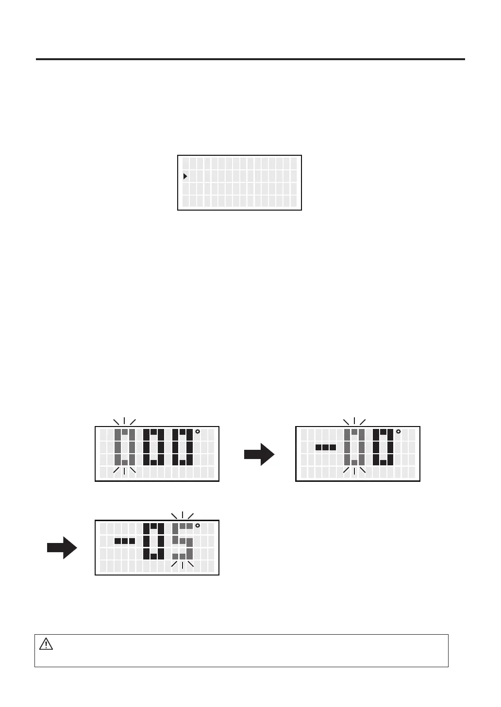
1.
Move the cursor to select “Offset Temp”. After selecting, press <ENT>.
2. Enter the offset value (-5) which is the difference between tip temperature and set
temperature.
The hundreds digit can display 0 (for positive value) or minus sign. (for negative value)
(Same values can be selected in ℉ mode.)
Values from 0 to 5 can be selected when entering the ten digit.
(In ℉ mode, values from 0 to 9 can be selected.)
Values from 0 to 9 can be selected when entering the units digit.
(Same values can be selected in ℉ mode.)
The allowable ranges for offset values are from -50 to +50℃ . (In ℉ mode, from -90
to +90℉) If you enter a value outside the offset value range, the display returns to
the hundreds digit, and you have to enter a correct value.
3. After entering the units digit, press the button to save the figure to the system
memory and begin heater control with the new offset value.
CAUTION
During the offset setting, please be careful tip temperature does not exceed 450 ℃.
<↑> <↓> <ENT>
S e t T emp
O f f s e t T emp
V acuum Check
380 C
00 C
C
<↑> <↓> <ENT>
C
<↑> <↓> <ENT>
C
<↑> <↓> <ENT>
Example
If the measured temperature is 405℃ and set temperature is 400℃, the
difference is -5℃. (need to decrease by 5℃) So, enter the figure which 5
is deducted from present offset value.

Related product manuals