EasyManua.ls Logo

Hammer N3700 e-classic - Positioning and Levelling the Machine

Hammer N3700 e-classic
32 pages
Print Icon
To Next Page IconTo Next Page
To Next Page IconTo Next Page
To Previous Page IconTo Previous Page
To Previous Page IconTo Previous Page
Loading...
19
!
!
"
#
!
Bandsaw
N3700 e-classic / N3800 / N4400
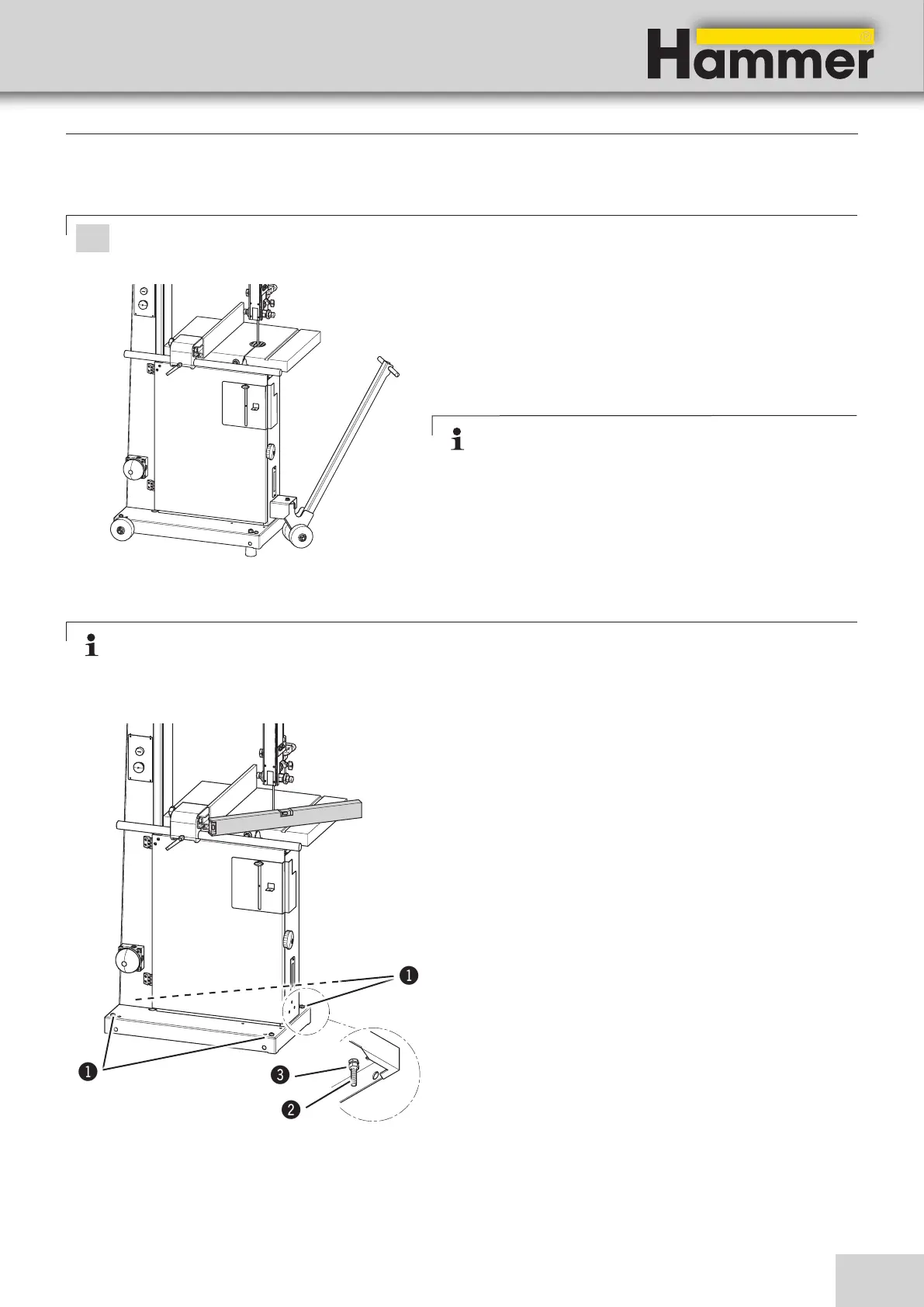
Fig. 6-5: Floor mounting
!Screws
"Adjusting screw
#Locking nut
Note:
There are 4 threaded holes located in the base plate of the machine where the levelling screws sup-
plied with the machine can be screwed into.
The following points are important for a correct and effi-
cient machine installation:
Position the machine with the aid of a spirit level to en-
sure that the machine functions precisely and operates
smoothly.
Compensate for uneven floors with the „adjusting
screws“ or bolster the machine.
The machine should be bolted to the floor with M10
screws for optimum stability, however take care not to
overtighten the fastening bolts as this will increase vi-
brations. It is advisable to place vibration dampening
pads between the floor and the machine.
Install the machine in such a way as not to amplify the
vibrations and machine noise.
Ensure that workplace lighting is adequate.
If the machine is to be installed between other ma-
chines, leave at least 80 cm distance in-between, in
order to avoid collisions when cutting large workpi-
eces and to allow the use of equipment such as roll
supports and additional tables.
6.2.4 Positioning and levelling the machine
Attention! Risk of material damage! Do not lift the machine by its work table, extension frames or
handwheels.
The machine can be transported with a crane, forklift,
pallet jack or rolling carriage.
Due to technical reasons, the machine is delivered in a
partly dismantled state.
Note:
The rolling carriage and the lifting bar (option) facilitate
the task of transporting the machine.
Accessories Order no.:
Rolling carriage - 503-142
Lifting bar - 510-149
Fig. 6-4: Transport with a rolling carriage
Setup and installation

Table of Contents

Related product manuals