EasyManua.ls Logo

Harbor Breeze WO52BB5C - Final Installation

Harbor Breeze WO52BB5C
36 pages
Print Icon
To Next Page IconTo Next Page
To Next Page IconTo Next Page
To Previous Page IconTo Previous Page
To Previous Page IconTo Previous Page
Loading...
FINAL INSTALLATION
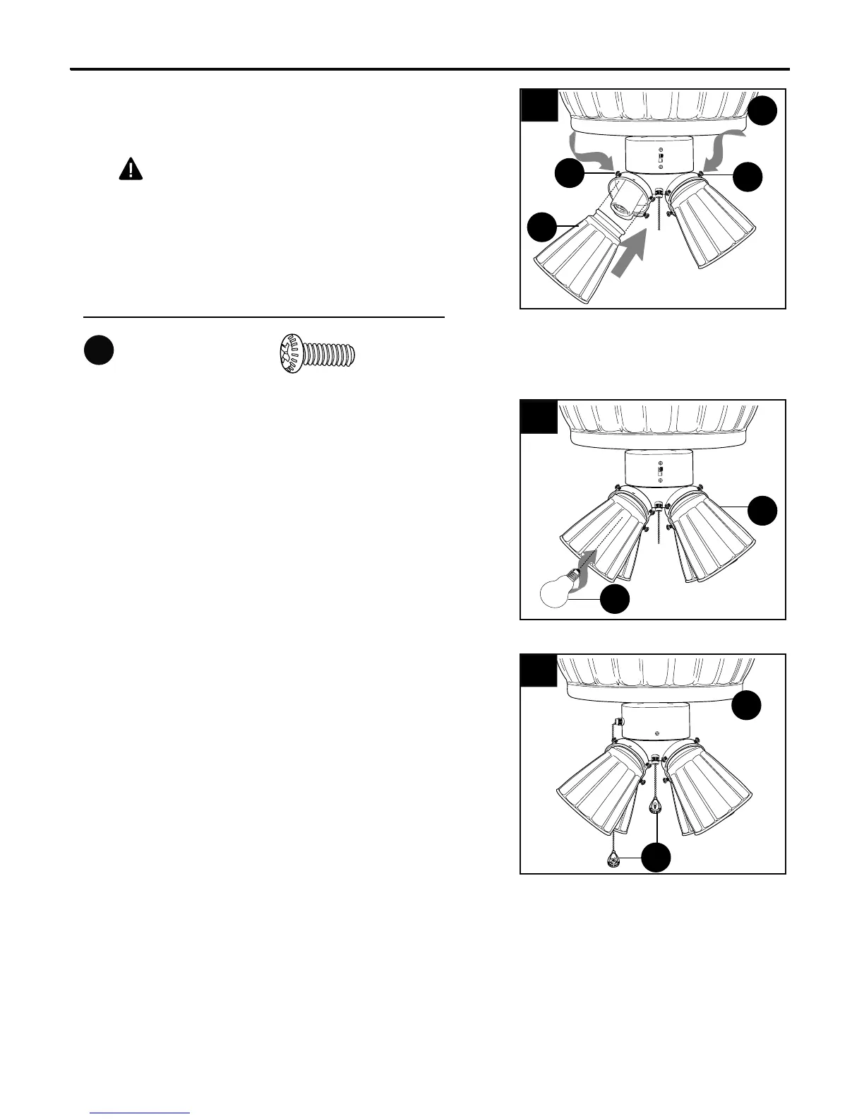
Install glass shades (G) by tightening thumb
screws (DD) that were installed in Step 7 on the
previous page. (Fig. 9)
CAUTION: Do NOT use power tools to tighten
thumb screws in order to avoid breakage of glass.
Tighten thumb screws (DD) HAND-tight ONLY.
Note: Do not overtighten thumb screws (DD) as
glass may crack or break.
9.
13
9
G
DD
DD
L
Hardware Used
The pull chain extensions (I) supplied in one of the
hardware packs or custom pull chains extensions
(sold separately) may be attached to fan and light
pull chains. (Fig. 11)
11.
I
11
Install four candelabra-base 60-watt max. bulbs (H)
included. (Fig. 10)
IMPORTANT: When you need to replace bulbs,
please allow the bulbs and glass shades to cool
down before touching them.
10.
10
G
H
L
Thumb Screw x12
DD

Related product manuals