EasyManua.ls Logo

Heraeus UT 12 P - Starting Up with Programmed Controller Function (CYCL)

Default Icon
36 pages
Print Icon
To Next Page IconTo Next Page
To Next Page IconTo Next Page
To Previous Page IconTo Previous Page
To Previous Page IconTo Previous Page
Loading...
4 OPERATION
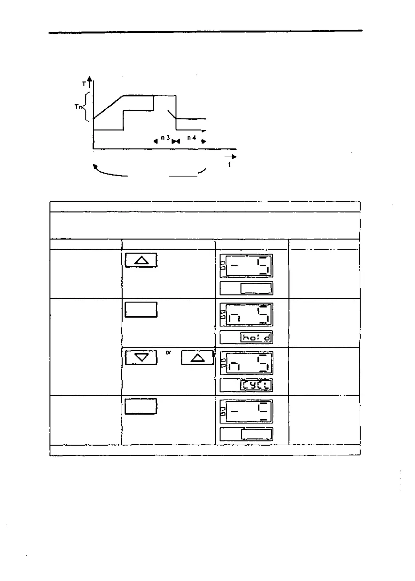
Fig. 3/4: Example of the programmed controller function with " CYCL " lerminalion command
T1 T2
40%
4
n1
»
70%
< "
2
100%
\
T3 T4
40 % ^
t1 12 13 14
n 5 CYCL
Starting up with the programmed controller function
The "CYCL" termination command has been selected here as an alternative to example 274.
Enter the preset temperature, time and air speed level values for the program segments
according to the same procedure as example 2/4.
Instruction Key(s)
Example of display
Remarks
Select program
segment n 5
ii
n 5 is displayed,
programmable digit
flashes
Select the "CYCL"
termination command
prog
Termination command
flashes in the display
Enter the "CYCL"
termination command
Transfer the
termination command
to the memory
prog
I I I
n 5 is displayed,
programmable digit
flashes
Leave the program memory and start the program
Issue: May, 1994
50 042 750 27/34

Related product manuals