EasyManua.ls Logo

HIKVISION DS-7604NI-VP

HIKVISION DS-7604NI-VP
214 pages
To Next Page IconTo Next Page
To Next Page IconTo Next Page
To Previous Page IconTo Previous Page
To Previous Page IconTo Previous Page
Loading...
User Manual of Network Video Recorder
21
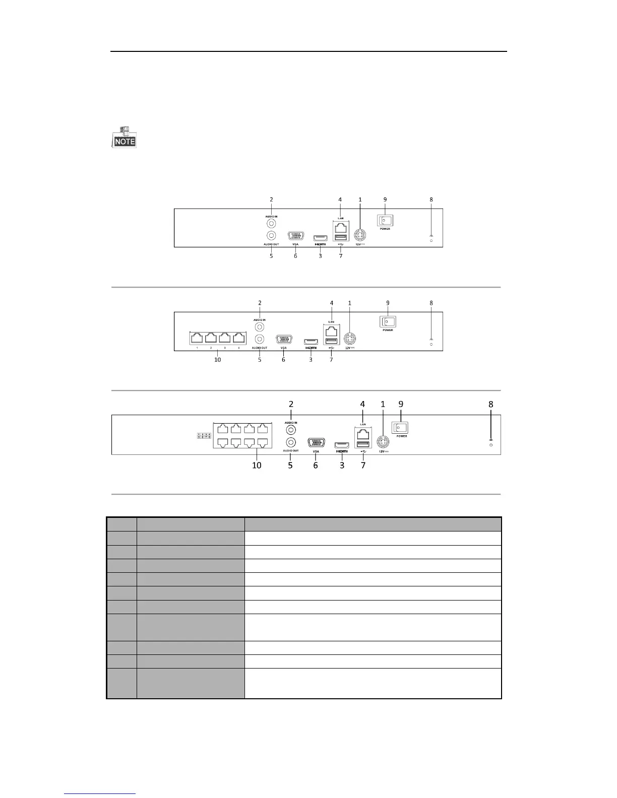
1.5 Rear Panel
The rear panel vaires according to different models.
DS-7600NI-SN, DS-7604NI-SN/N, DS-7608 & 7616NI-SN/N
Figure 1. 6 DS-7600NI-SN
Figure 1. 7 DS-7604NI-SN/N
Figure 1. 8 DS-7608 & 7616NI-SN/N
Table 1. 7 Description of Rear Panel Interfaces
No.
Item
Description
1
Power Supply
12V DC power supply.
2
Audio In
RCA connector for audio input.
3
HDMI
TM
Interface
HDMI
TM
video output connector.
4
LAN Network Interface
1 10 /100 /1000 Mbps self-adaptive Ethernet interface
5
Audio Out
RCA connector for audio output.
6
VGA Interface
DB9 connector for VGA output. Display local video output and menu.
7
USB Interface
Universal Serial Bus (USB) ports for additional devices such as USB
mouse and USB Hard Disk Drive (HDD).
8
Ground
Ground (needs to be connected when NVR starts up).
9
Power Switch
Switch for turning on/off the device.
10
Network Interfaces with
built-in switch function
Built-in switch network interfaces for the cameras. (Supported by
DS-7600NI-SN/N).

Table of Contents

Other manuals for HIKVISION DS-7604NI-VP

Related product manuals