EasyManua.ls Logo

Hisense HER30F5CSS - Preparing for Range Installation; Power Cord Installation Steps; 4-Wire Power Cord Installation

Hisense HER30F5CSS
31 pages
Print Icon
To Next Page IconTo Next Page
To Next Page IconTo Next Page
To Previous Page IconTo Previous Page
To Previous Page IconTo Previous Page
Loading...
9
Effective January 1,1996, the National Electrical Code re
quires that new construction (not existing) utilize a
4-conductor connection to an electric range. When
installing an electric range in new construction, follow
Steps for 4-wire connection.
You must use a 4-wire, single-phase A.C. 240/120 Volt,
60 hertz electrical system.
If the electrical service provided does not meet the
above specifications, have a licensed electrician install an
approved outlet.
Use only a 4-conductor UL-listed range cord. These cords
maybe provided with ring terminals on wire and a strain
relief device.
A range cord rated at 50 amps with 125/250 minimum
volt range is required. Care should be taken to center
the cable and strain relief within the knock out hole to
keep the edge from damaging the cable.
NOTE
This appliance is manufactured ready to be installed with
a 4-wire cord set.
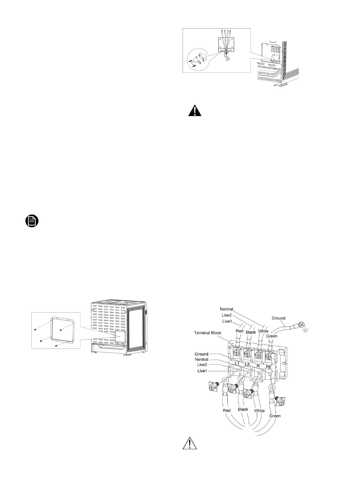
STEP 2. POWER CORD
A. Remove the rear terminal block cover and loosen
the 6 screws with a screwdriver. The terminal block
will then be accessible. Do not discard these screws.
B. For power cord installations only, hook the strain
relief over the power cord hole located below the
rear of the drawer body. Insert the power cord
through the strain relief and tighten the device.
You must install the power cord with a strain relief.
Attach the strain relief to the opening in conduit
connection plate.
STEP 3. 4-WIRE POWER CORD INSTALLATION
WARNING
Electrical Shock Hazard
Electrical ground is required on this appliance.
Do not connect to the electrical supply until appliance is
permanently grounded.
Disconnect power to the circuit breaker or fuse box
before making the electrical connection.
This appliance must be connected to a grounded,
metallic, permanent wiring system, or a grounding
connector should be connected to the grounding
terminal or wire lead on the appliance. Failure to do any
of the above could result in a fire, personal injury or
electrical shock. See below for more information on
electrical grounding.
A. Remove the 4 lower terminal screws from the
terminal block.
B. Insert the 4 terminal screws through each power
cord terminal and into the lower terminals of the
terminal block. Be certain that match the wire and
terminals by colour.
C.
Tighten screws securely into the terminal block.
CAUTION
You must check voltage after connecting power cord.

Table of Contents

Related product manuals