EasyManua.ls Logo

Hitachi C12FCH - 3. Cutting Operation; 4. Miter cutting procedures

Hitachi C12FCH
22 pages
Print Icon
To Next Page IconTo Next Page
To Next Page IconTo Next Page
To Previous Page IconTo Previous Page
To Previous Page IconTo Previous Page
Loading...
17
English
3. Cutting Operation
Adjusting Line
(Front View)
Marking
(pre-marked)
Marking
(pre-marked)
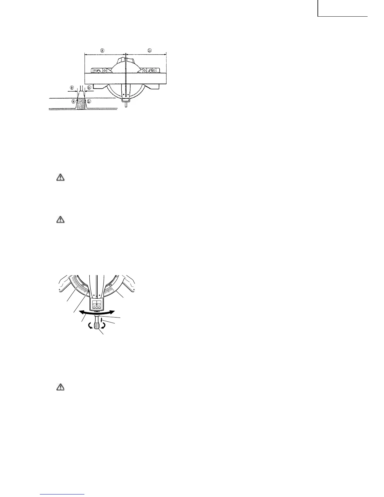
Fig. 23
(1) As shown in Fig. 23 the width of the saw blade is the
width of the cut. Therefore, slide the workpiece to the
right (viewed from the operator’s position) when length
b is desired, or to the left when length a is desired.
(For Model C12LCH/C12FCH)
If a laser marker is used, align the laser line with the left
side of the saw blade, and then align the ink line with
the laser line.
(2) Once the saw blade reaches maximum speed, push the
handle down carefully until the saw blade approaches
the workpiece.
(3) Once the saw blade contacts the workpiece, push the
handle down gradually to cut into the workpiece.
(4) After cutting the workpiece to the desired depth, turn
the power tool OFF and let the saw blade stop completely
before raising the handle from the workpiece to return
it to the full retract position.
WARNING: *Confirm that the trigger switch is turned OFF and the power plug has been removed
from the receptacle whenever the tool is not in use.
*When you cut the workpiece, avoid any cutoff thinner than the clearance between
the cutting edge and the saw blade. Otherwise, the cut-off material can enter the
clearance between the cutting edge and the saw blade and scatter around you,
resulting in an injury.
CAUTION: *Increased pressure on the handle will not increase the cutting speed.
On the contrary, too much pressure may result in overload of the motor and/or
decreased cutting efficiency.
*If the handle is pressed down with excessive or lateral force, the saw blade may
vibrate during the cutting operation and cause unwanted cutting marks on the
workpiece, thus reducing the quality of the cut. Accordingly, press the handle down
gently and carefully.
4. Miter cutting procedures
Miter Scale
Turn the turntable
Loosen
Side Handle
Tighten
Push
Lever
Indicator
(For miter scale)
Turntable
Fig. 24
(1) Loosen the side handle and push the lever for angle stoppers.
Then, adjust the turntable until the indicator aligns with desired
setting on the miter scale (Fig. 24).
(2) Re-tighten the side handle to secure the turntable in the desired
position.
NOTE: *Positive stops are provided at the right and left of the 0°
center setting, at 15°, 22.5°, 31.6° and 45° settings.
Check that the miter scale and the tip of the indicator
are properly aligned.
Use the positive stop position as the yardstick
operations.
*Operation of the saw with the miter scale and indicator
out of alignment, or with the side handle not properly
tightened, will result in poor cutting precision.
CAUTION: Never remove the side handle; use of the tool without it would be hazardous.
To prevent an accident or personal injury always firmly tighten the miter handle.

Other manuals for Hitachi C12FCH

Related product manuals