EasyManua.ls Logo

Holzstar FKS 315-2000 E - Page 30

Holzstar FKS 315-2000 E
34 pages
Print Icon
To Next Page IconTo Next Page
To Next Page IconTo Next Page
To Previous Page IconTo Previous Page
To Previous Page IconTo Previous Page
Loading...
30 FKS 315-2000 E | Version 1.11
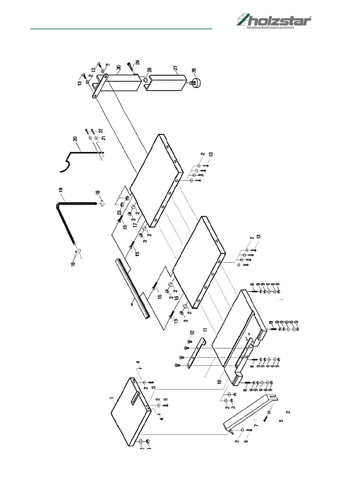
Spare parts
Spare parts drawing 7
Fig. 61: Spare parts drawing 7 FKS 315-2000 E

Related product manuals