EasyManua.ls Logo

Honeywell HPF-PS10E - FACP Connectivity: Slave and Master Modes

Honeywell HPF-PS10E
52 pages
Print Icon
To Next Page IconTo Next Page
To Next Page IconTo Next Page
To Previous Page IconTo Previous Page
To Previous Page IconTo Previous Page
Loading...
HPF-PS Series Instruction Manual — P/N LS10227-003HP-E:C 2/2/2022 17
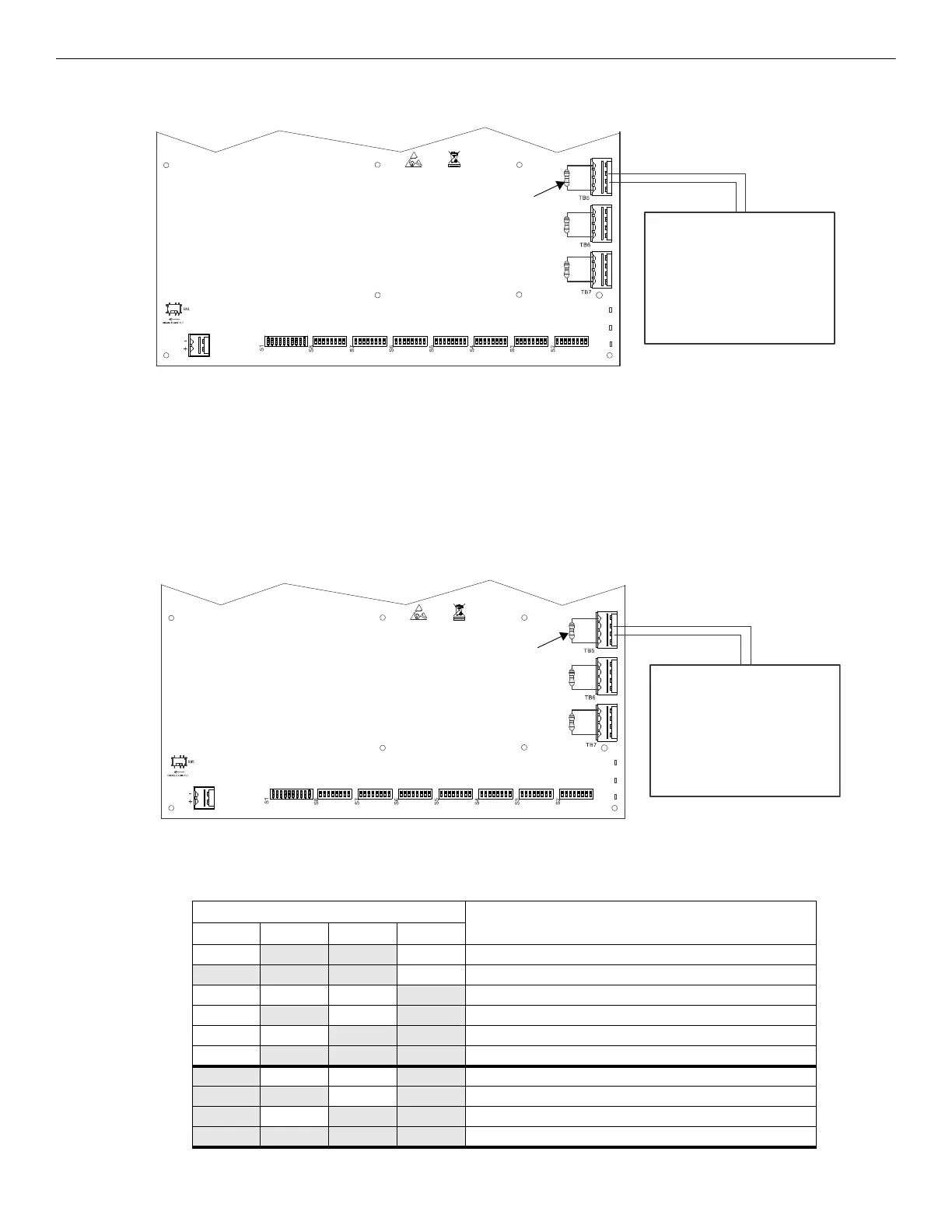
FACP with HPF-PS Power Supply in Slave Configuration Installation
2.5 FACP with HPF-PS Power Supply in Slave Configuration
In this application, the power supply is configured as a Slave unit and connected to a master FACP programmed for synchronized output. .
The following notes apply to Figure 2.7 on page 17
1. Refer to NFPA 72, Chapter 4-4, Visible Characteristics, Public Mode.
2. Use only devices from the same manufacturer in each system.
3. Set Output DIP Switch: position 3=ON, 4 = OFF, 5 = ON, 6 = OFF.
4. If the FACP has a dedicated sync output connector, wire the remote sync output connector to Input #1 terminals 2 and 3.
5. In this example, the output is mapped to Input#1 in Slave Configuration, but it can programmed to another input using the DIP switches.
6. For NFPA 72 compliance, notification appliances cannot be installed on the FACP control circuit connecting to the HPF-PS input
circuits.
2.6 HPF-PS Power Supply in Master Configuration Connected to FACP
In this application, a master HPF-PS power supply, set for synchronization, is connected to an FACP with non-synchronized output.
The following notes apply to Figure 2.8.
1. Refer to NFPA 72, Chapter 4-4, Visible Characteristics, Public Mode.
2. Set Output DIP switches to the desired sync protocol as described below. Refer to the Device Compatibility Document for devices.
TB15
A- B+ B- A+ A- B+ B- A+ A- B+ B- A+
HPF-PS
FACP
NAC programmed for sync
or remote sync output
ELR for
FACP
NAC
Figure 2.7 Supervised Master/Slave Connections
DIP Switch Position
Synchronization Type
3456
OFF
ON ON OFF Master Configuration - ANSI Temporal (Temporal 3)
ON ON ON OFF Master Configuration - CO Temporal (Temporal 4)
OFF OFF OFF
ON Master Configuration - Amseco/Potter
OFF
ON OFF ON Master Configuration - Gentex
OFF OFF
ON ON Master Configuration - System Sensor
OFF
ON ON ON Master Configuration - Wheelock
ON OFF OFF ON Master Configuration, Selective Silence - Amseco/Potter
ON ON OFF ON Master Configuration, Selective Silence - Gentex
ON OFF ON ON Master Configuration, Selective Silence - System Sensor
ON ON ON ON Master Configuration, Selective Silence - Wheelock
TB15
A- B+ B- A+ A- B+ B- A+ A- B+ B- A+
HPF-PS
Figure 2.8 Supervised FACP to Master Connections (non-synchronized source)
FACP
(also can be triggered by a
control module or relay module)
NAC with no synchronization
NAC1
ELR for
FACP
NAC

Table of Contents

Related product manuals