EasyManua.ls Logo

Honeywell SmartLine RMA801 - Figure 15: Two Rate Inputs

Honeywell SmartLine RMA801
144 pages
To Next Page IconTo Next Page
To Next Page IconTo Next Page
To Previous Page IconTo Previous Page
To Previous Page IconTo Previous Page
Loading...
Page 70 Foundation Fieldbus RMA803 Remote Indicator User's Guide Revision 4
The usage is as follows:
Rate
It is used when the variable connected to the input is a rate, that is Kg/s, w, Gal/hour, and so on. This
input can come from the rate output OUT of an Analog Input block.
Accum
It is used when the input comes from the OUT_ACCUM output of a Pulse Input block, which
represents a continuous accumulation of pulse counts from a transducer, or from the output of
another Integrator block. The bits corresponding to IN_1 and IN_2 can be set to False for Rate, or
can be set to True for Accum.
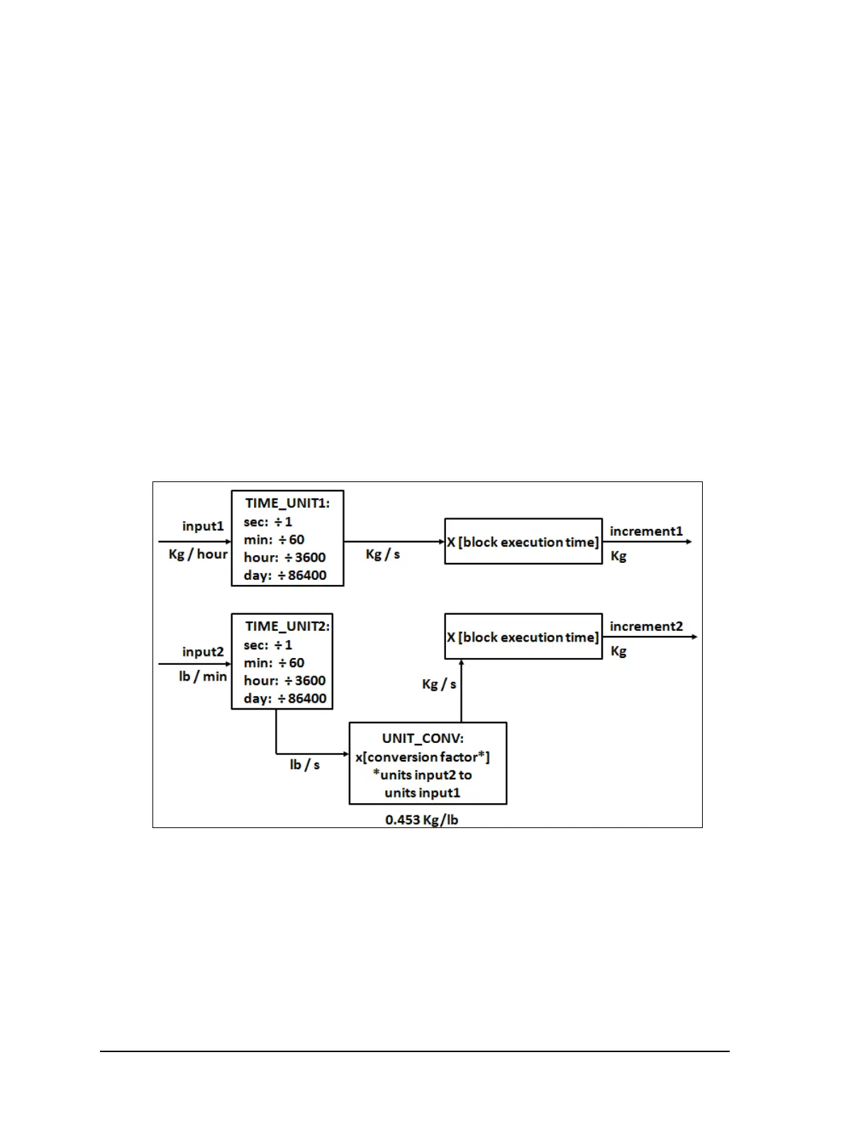
If the input option is Rate
Each input needs a parameter to define the rate time unit: IN_1, IN_2. The time unit can be selected
in seconds/minutes/hours/days. The second analog input must be converted into the same unit as that
of the first input. IN_2 must be converted into the same units of IN_1. This can be done by using the
parameter UNIT_CONV. For example, if IN_1 is in seconds and if IN_2 is in minutes, IN_2 must
be converted to seconds before starting the integration. In this case, the value of UNIT_CONV is
.0166 (1/60).
To find the mass, volume, or energy increment per block execution, each rate must be multiplied by
the block execution time. This increment must be added or subtracted in a register.
The following diagram is an example of the use of two Rate inputs:
Figure 15: Two Rate Inputs

Table of Contents

Other manuals for Honeywell SmartLine RMA801

Related product manuals