EasyManua.ls Logo

HP Pavilion x360 15

HP Pavilion x360 15
77 pages
To Next Page IconTo Next Page
To Next Page IconTo Next Page
To Previous Page IconTo Previous Page
To Previous Page IconTo Previous Page
Loading...
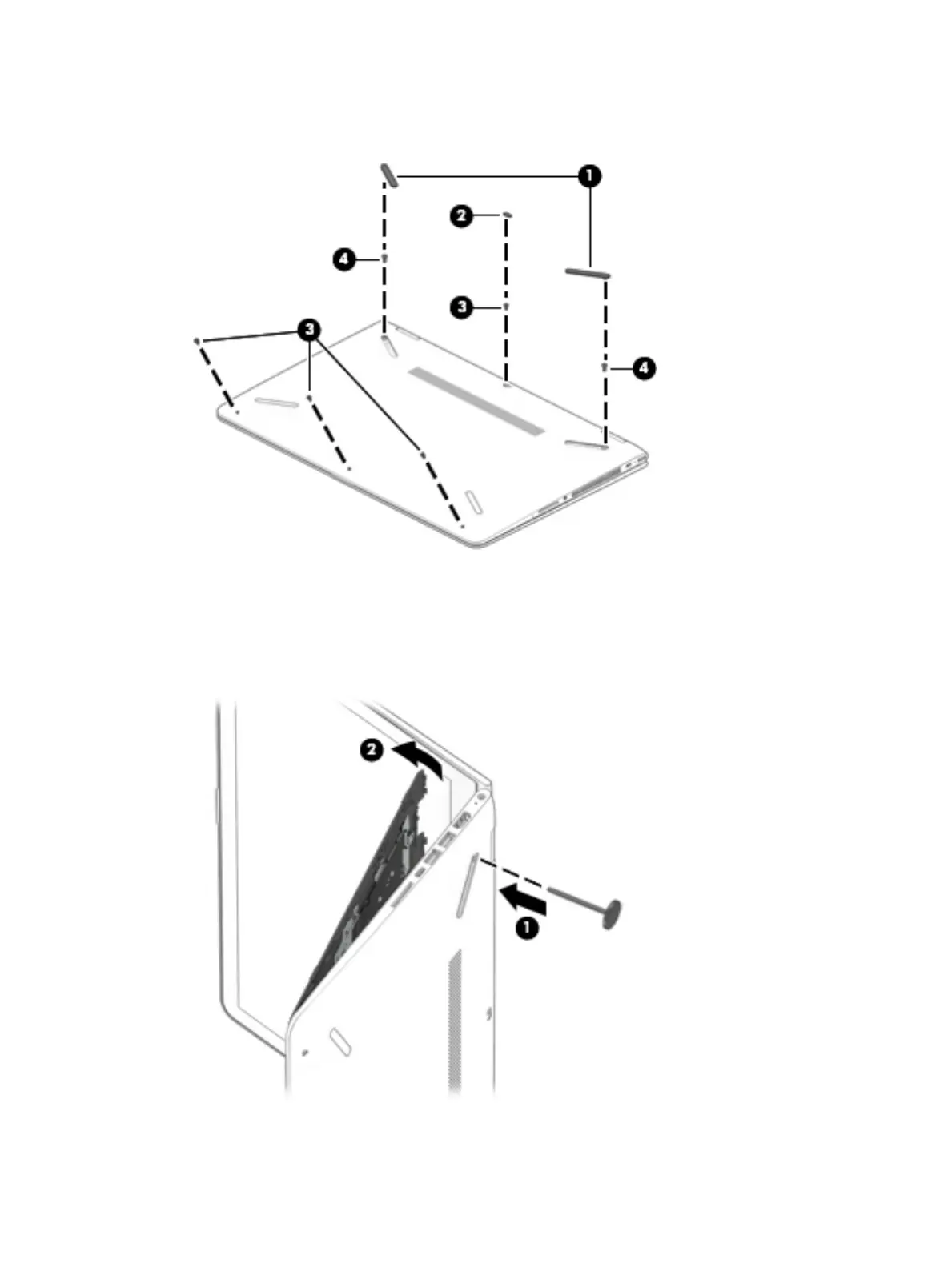
5. Remove the four Phillips PM2.0×4.9 screws (3) and the two Phillips PM2.5×7.6 screws (4) that secure
the keyboard/top cover to the base enclosure.
6. Turn the computer right side up.
7. Open the computer and position it on its left side with the bottom toward you.
8. Insert a keyboard release tool (1) into the empty screw holes under the rubber feet.
9. Press on the keyboard release tool until the keyboard/top cover (2) releases from the computer.
26 Chapter 5 Removal and replacement procedures

Table of Contents

Related product manuals