EasyManua.ls Logo

HP StoreOnce 4500 - HP Storeonce 4700 Backup

HP StoreOnce 4500
127 pages
To Next Page IconTo Next Page
To Next Page IconTo Next Page
To Previous Page IconTo Previous Page
To Previous Page IconTo Previous Page
Loading...
HP StoreOnce 4700 Backup
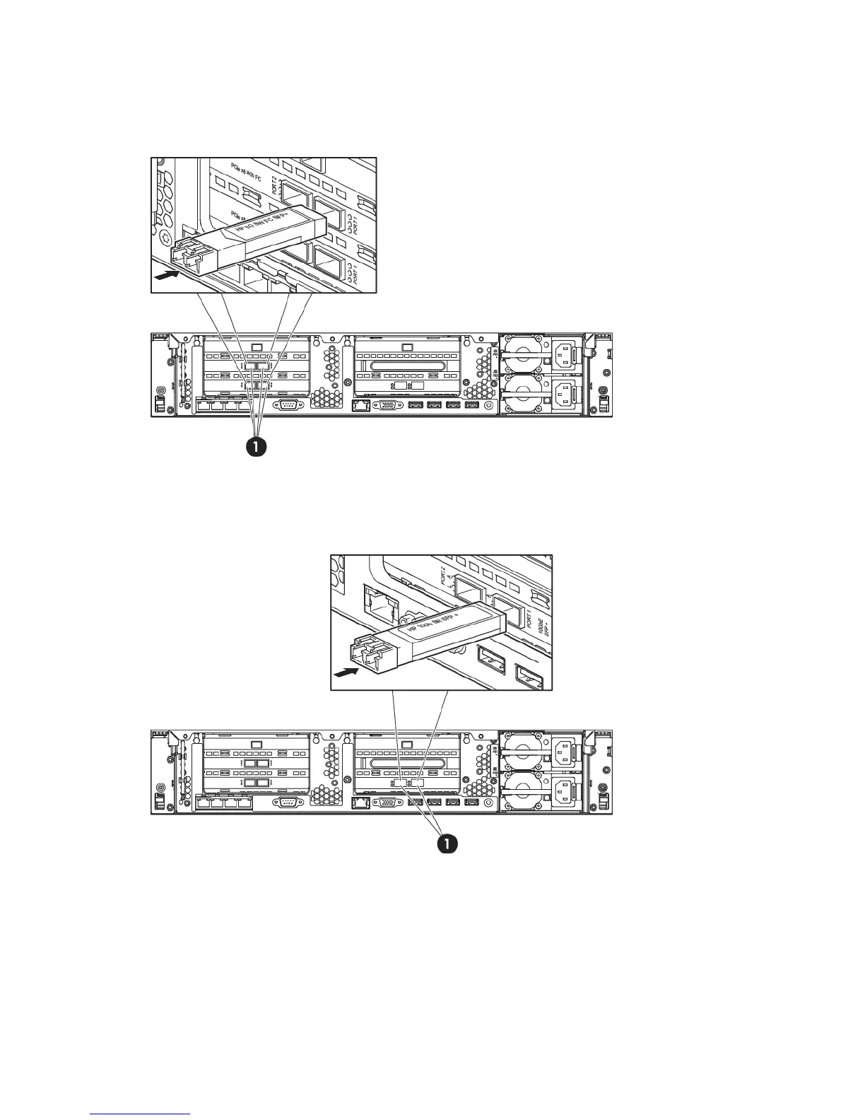
There are four FC ports and four 8Gb Short Wave FC SFP+s. Connect an SFP to each FC port, as
shown below (1).
Figure 2 Connecting FC SFPs on HP StoreOnce 4700
There are two 10 Gbit ethernet ports and two 10Gb SR SFP+s. Connect an SFP to each 10 Gbit
ethernet port, as shown below (1).
Figure 3 Connecting 10 Gbit ethernet SFPs on HP StoreOnce 4700
Attaching SFPs, StoreOnce 2900, 4500 and 4700 only 13

Table of Contents

Other manuals for HP StoreOnce 4500

Related product manuals