EasyManua.ls Logo

HP StoreOnce 4500 - HP Storeonce 2900 and 4500 Backup

HP StoreOnce 4500
127 pages
To Next Page IconTo Next Page
To Next Page IconTo Next Page
To Previous Page IconTo Previous Page
To Previous Page IconTo Previous Page
Loading...
HP StoreOnce 2900 and 4500 Backup
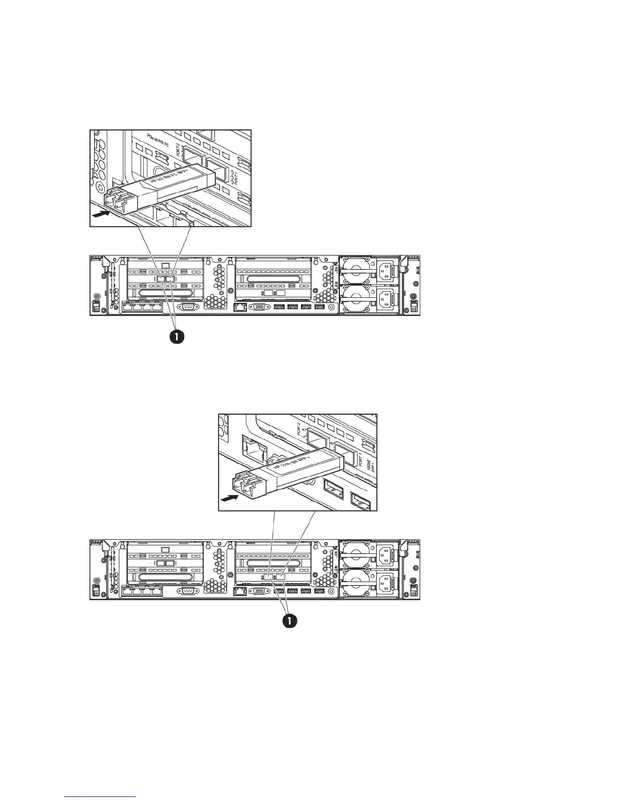
There are two FC ports and two 8Gb Short Wave FC SFP+s.
Connect an SFP to each FC port on the HP StoreOnce 4500 Backup, as shown below (1). (The
StoreOnce 2900 Backup does not have FC ports.)
Figure 4 Connecting FC SFPs on HP StoreOnce 4500
There are two 10 Gbit ethernet ports and two 10Gb SR SFP+s. Connect an SFP to each 10 Gbit
ethernet port, as shown below (1).
Figure 5 Connecting 10 Gbit ethernet SFPs on HP StoreOnce 2900 and 4500
14 Installing and cabling the HP StoreOnce Backup system

Table of Contents

Other manuals for HP StoreOnce 4500

Related product manuals