EasyManua.ls Logo

HTC 500 - Handling and Storage; Machine Name Plate; Handling and Storage Guidelines

HTC 500
52 pages
Print Icon
To Next Page IconTo Next Page
To Next Page IconTo Next Page
To Previous Page IconTo Previous Page
To Previous Page IconTo Previous Page
Loading...
12
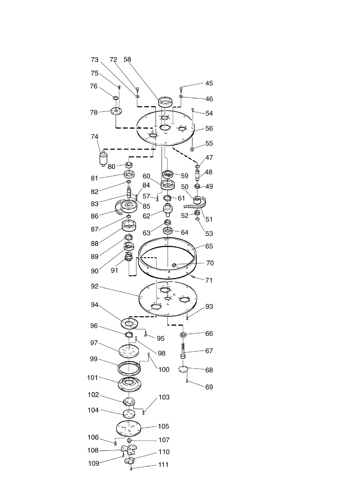
Exploded diagram grinding holder, HTC 650

Other manuals for HTC 500

Related product manuals